EasyManua.ls Logo

EcoWater EASF1 - Always Install the Filter Upright Reversing the Faceplate Mounting Bracket

EcoWater EASF1
16 pages
Print Icon
To Next Page IconTo Next Page
To Next Page IconTo Next Page
To Previous Page IconTo Previous Page
To Previous Page IconTo Previous Page
Loading...
6
Planning the Installation
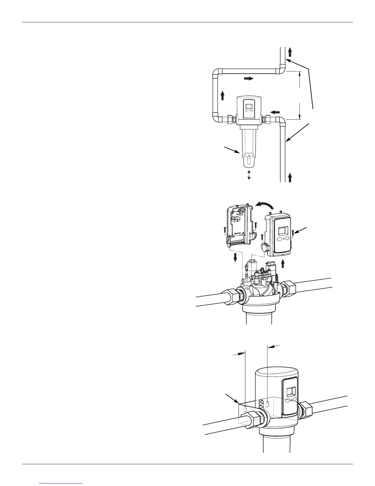
FIG. 4
FIG. 6
FIG. 5
10"
min.
6”
min.
IN
OUT
10”
min.
House Water
Supply Pipe
Sump
Pointed
Straight
Down
3"
Mounting
Bracket
Remove 2
screws and
turn faceplate
around, if
necessary
ALWAYS INSTALL THE FILTER UPRIGHT
To operate properly, the Automatic Sediment Filter
must be installed with the sump pointed straight down.
When possible, install the filter on a horizontal section
of the household’s main incoming water pipe. If the
available incoming main house water pipe runs verti-
cally where you want to install the filter, buy 90° pipe
elbows and plumb a detour, as shown in Figure 4.
Allow enough space under the filter (6” minimum) to
remove the sump (to clean or replace the filter screen).
Allow enough space above the filter to remove the top
cover (to change batteries, etc.), as shown in Figure 4.
REVERSING THE FACEPLATE / DISPLAY
The Automatic Sediment Filter must be installed with
the water flowing into the side of the filter marked IN.
Remove the unit’s top cover and observe the IN and
OUT markings. Depending on the direction of water
flow and the viewing angle, the faceplate may need to
be reversed (turned around to face the opposite direc-
tion) so that it does not end up against a wall or other
obstruction. This can be done either before or after
the filter is installed on the plumbing:
1. Remove the top cover from the ASF by sliding it
upward.
2. With a phillips screwdriver, remove the 2 screws
holding the faceplate assembly to the filter head
(See Figure 5).
3. Lift the faceplate assembly up and turn it around
180°, taking care not to pull on the wires between
the electronic control board and the valve solenoid.
4. Lower the faceplate assembly into place on the
opposite side of the head and reinstall the 2 screws.
5. Slide the top cover back onto the ASF and push it
down to snap into place.
MOUNTING BRACKET
A metal bracket is included with the Automatic
Sediment Filter to support the assembled filter and
plumbing when necessary. It may be mounted to a
wall or wall framing member with 2 screws (included),
as shown in Figure 6.
The 2 mounting bracket screws should be installed
before the filter is installed on the plumbing. When
installing the plumbing, be sure to put the bracket in
position around the ASF before installing inlet and out-
let fittings. The bracket can not be put on after the
inlet and outlet fittings are installed.

Related product manuals