EasyManua.ls Logo

ECOWITT WH31 - Page 7

ECOWITT WH31
15 pages
Print Icon
To Next Page IconTo Next Page
To Next Page IconTo Next Page
To Previous Page IconTo Previous Page
To Previous Page IconTo Previous Page
Loading...
7
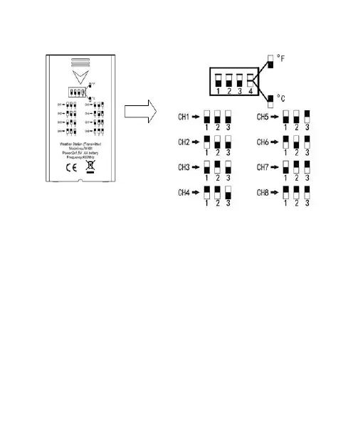
Figure 4: Dip Switch diagram
3.Insert two AA batteries.
4.Verify the correct channel number (CH)
and temperature units of measure (°F
vs. °C) are on the display.
5.Close the battery door.
Repeat for the additional remote
transmitters(sold separately), verifying
each remote is on a different channel.

Related product manuals