EasyManua.ls Logo

ELCA MITO - 5.4 FUNCTIONAL TESTING OF CHARGING CYCLE

ELCA MITO
30 pages
Print Icon
To Next Page IconTo Next Page
To Next Page IconTo Next Page
To Previous Page IconTo Previous Page
To Previous Page IconTo Previous Page
Loading...
ENG man MITO-MINI-915 04 Radio Remote Control System MITO-A-MINI
- Page 20 -
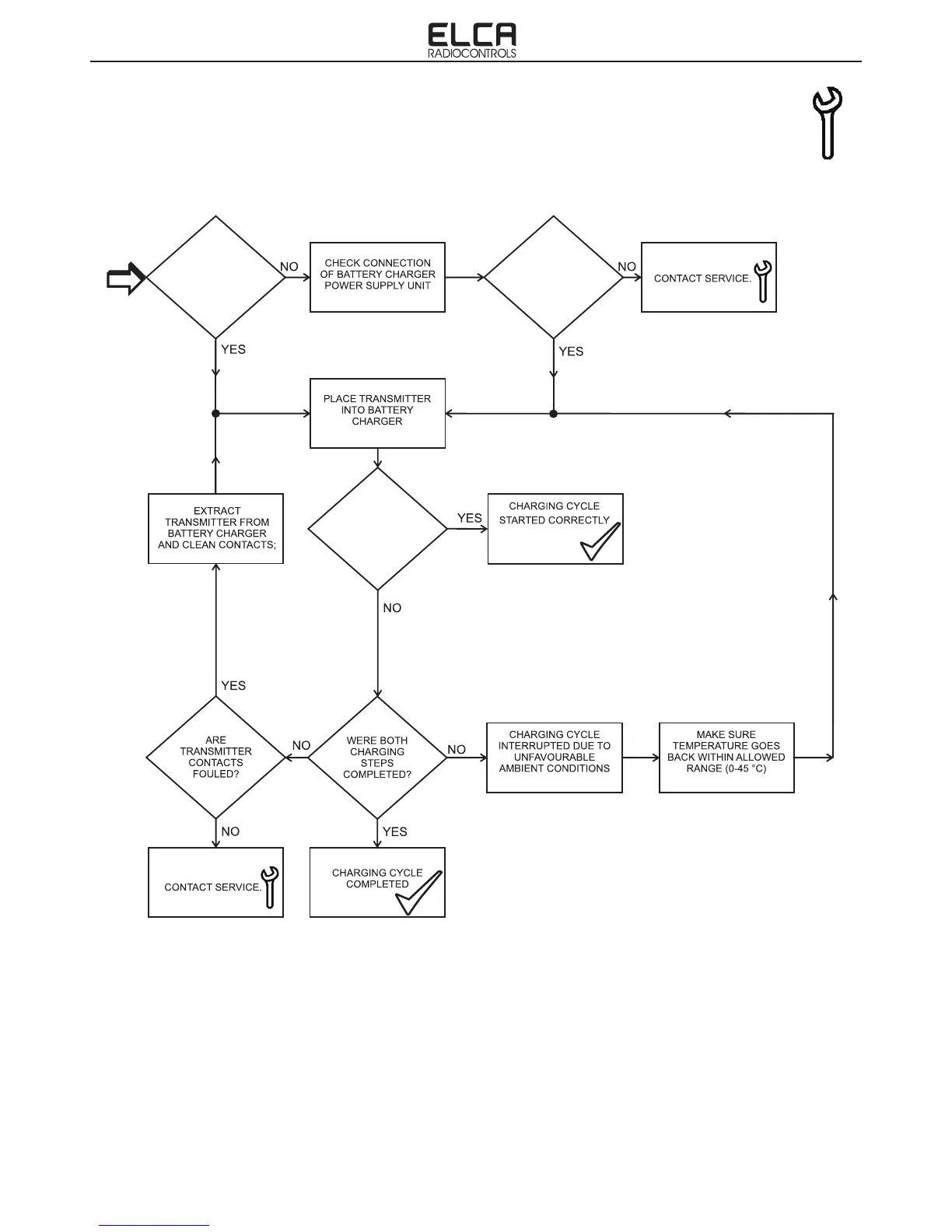
5.4 FUNCTIONAL TESTING OF CHARGING CYCLE
Follow the diagram below (starting from the top left corner) to solve or identify the problem.
IS THE GREEN
LIGHT ON?
DID THE GREEN
LIGHT TURN ON?
IS THE RED
LIGHT ON?

Related product manuals