EasyManua.ls Logo

elddis Crusader - Refrigerator Model Dometic Rm8501(in Twin Axle); Operating Modes and Use of Refrigerator; Operation

elddis Crusader
116 pages
Print Icon
To Next Page IconTo Next Page
To Next Page IconTo Next Page
To Previous Page IconTo Previous Page
To Previous Page IconTo Previous Page
Loading...
9-10
HOW TO USE YOUR CARAVAN’S EQUIPMENT
REFRIGERATOR MODEL DOMETIC RM8501(IN TWIN AXLE)
Manual energy selection/automatic ignition:
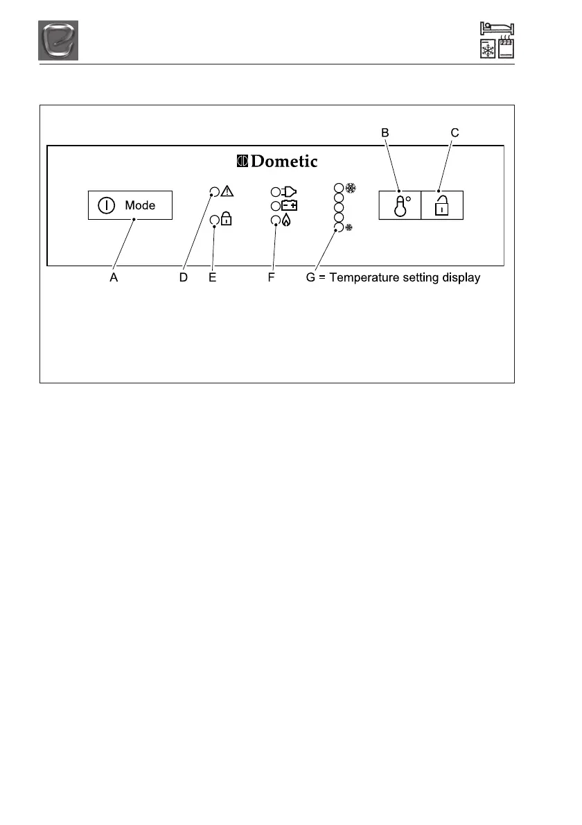
Fig 1
A = Power On switch / Energy selector switch (MODE).
B = Temperature selection.
C = Door opening (only when equipped with electrical door
lock).
D = Indicator LED failure.
E = Indicator LED door lock (optional).
F = Indicator LED operating mode.
Cleaning
Before starting up the refrigerator, it is advisable
to clean it inside and repeat this at regular
intervals. Use a soft cloth and lukewarm water
with a mild detergent. Then wipe out the
appliance with clean water and dry thoroughly.
Note: To avoid deterioration of materials, do not
use soap or hard, abrasive or soda-based cleaning
agents. Do not allow the door seal to come into
contact with oil or grease.
Operating modes and use of refrigerator
This refrigerator is equipped to operate on
three power modes:
AC mains power (230V), 12V DC or
Gas (propane/butane liquid gas).
Select the desired power mode by the
MODE button.
The cooling unit is silent in operation.
The refrigerator works reliabily on slopes of
up to 6 deg.
When the appliance is started for the first
time, there may be a mild odour which will
disappear after a few hours. Air the living
space throughly.
The refrigerator will take several hours to
reach its operating temperature in the
cooling compartment.
OPERATION
Switch the refrigerator ON or OFF by pressing
button A for 2 seconds. Button A allows you to
either initiate the requested energy supply or
activate dimming of the LED brightness. By
pushing once, the indicators illuminate for 10
seconds. Button C and indicator E are an optional
feature available with refrigerators equipped with
electrical door locking.

Table of Contents

Related product manuals