EasyManua.ls Logo

Electra Alpha 7 - Page 76

Electra Alpha 7
168 pages
Print Icon
To Next Page IconTo Next Page
To Next Page IconTo Next Page
To Previous Page IconTo Previous Page
To Previous Page IconTo Previous Page
Loading...
8-2
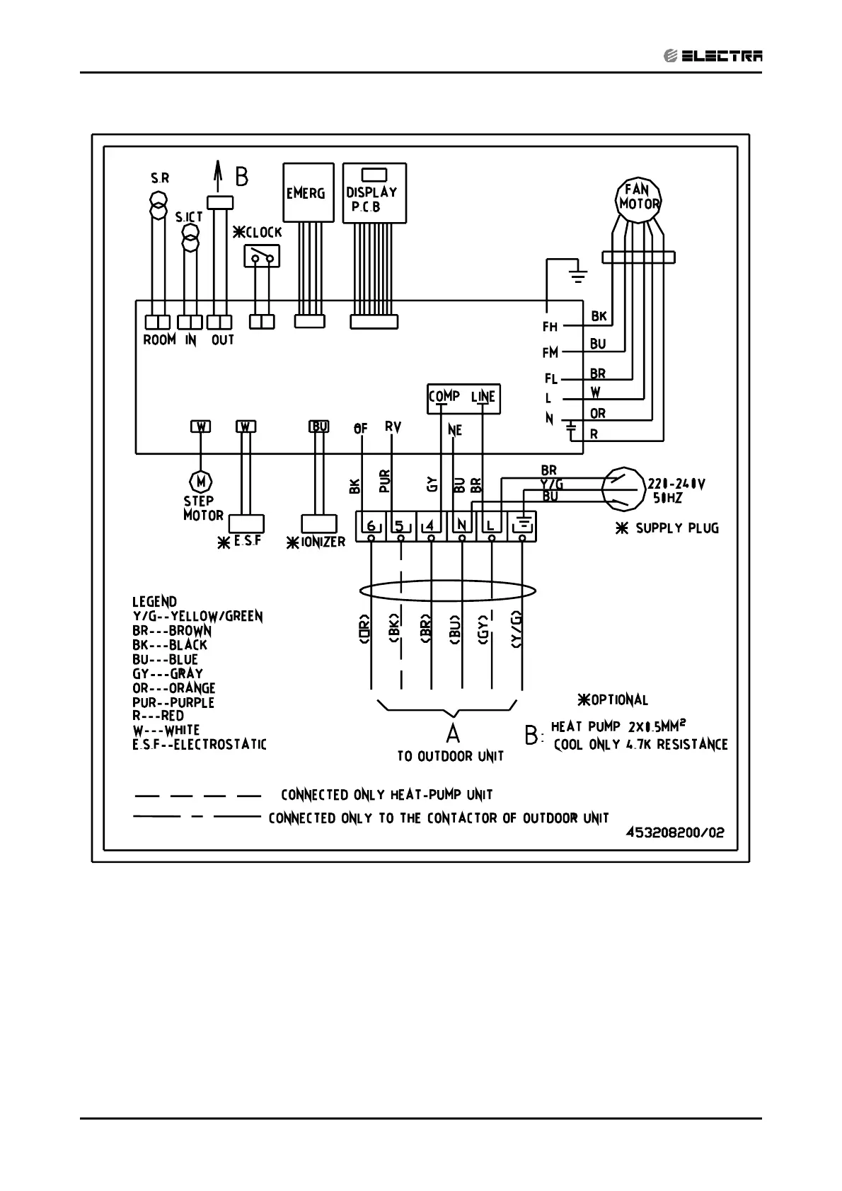
WIRING DIAGRAMS
SM ALPHA 1-E.3 GB
8.2 Indoor Unit: Delta 17, 24
CONTENT

Related product manuals