EasyManua.ls Logo

Electra Alpha 7 - Page 78

Electra Alpha 7
168 pages
Print Icon
To Next Page IconTo Next Page
To Next Page IconTo Next Page
To Previous Page IconTo Previous Page
To Previous Page IconTo Previous Page
Loading...
8-4
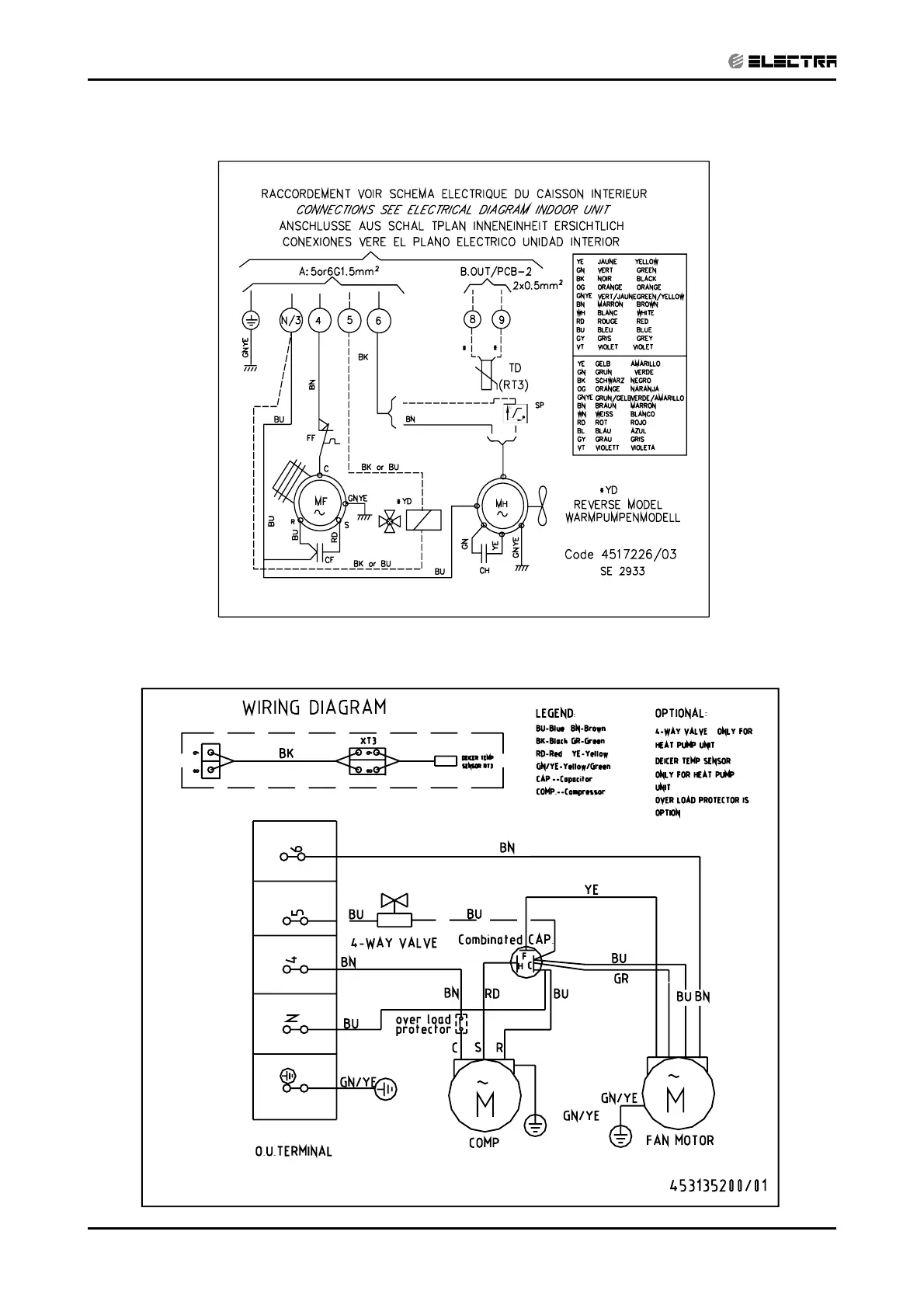
WIRING DIAGRAMS
SM ALPHA 1-E.3 GB
8.4 Outdoor Unit: GCN 7, 9, 12
8.5 Outdoor Unit: GCN 9,12 with easy connection kit
RE V : 03
CONTENT

Related product manuals