EasyManua.ls Logo

Electrolux Compact front series - Front Hatch; Hatch Locking Switch

Electrolux Compact front series
32 pages
Print Icon
To Next Page IconTo Next Page
To Next Page IconTo Next Page
To Previous Page IconTo Previous Page
To Previous Page IconTo Previous Page
Loading...
- 12 -
10.2003 R.K. 599 518 355
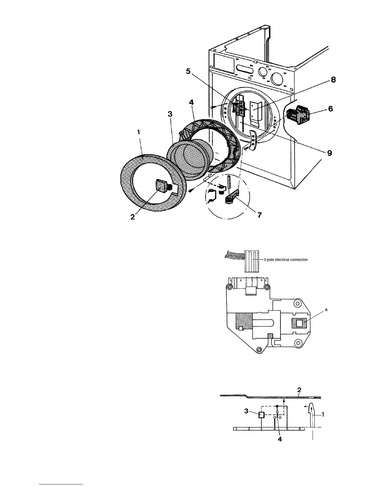
Front hatch
The hatch is locked during washing by a bimetallic
electric hatch lock and is opened by depressmg the
hatch lock pad. When the hatch is closed and the
On/Off button is pressed, a Signal lamp Illuminates
after approximately 5 seconds, the hatch 1s locked
electrically and the selected washing cycle Starts.
When the program has been exe-cuted, the lamp
extinguishes after 45-120 seconds and the hatch
can be reopened.
1 External hatch frame
2 Hatch lock pad
3 Hatch glass
4 Internal hatch frame
5 Hatch hinge
6 Electrical hatch lock
7 Locklever
8 Splash protection
9 Supporting beam
Hatch locking switch
The security of the hatch is ensured by an electromagnetlc lock
with function äs described below.
when the lock is activated, the voltage-sensing unit closes
the switch which con-nects voltage to the electrical
components of the machine.
During operations, the slide (A) remains mechanically
locked and thereby prevents opening of the hatch by fixing
the hatch lock lever
When the hatch lock has been deactivated, It remains
locked for approximately 45-120 seconds to ensure that
the drum is statlonary before the hatch is opened.
ELECTRICAL DIAGRAM
1 Lock lever (in hatch)
2 Slide
3 PTC resistor
4 Switch activated by the PTC resistor

Related product manuals