EasyManua.ls Logo

Electrolux EOF7P00LX - Additional Functions

Electrolux EOF7P00LX
40 pages
Print Icon
To Next Page IconTo Next Page
To Next Page IconTo Next Page
To Previous Page IconTo Previous Page
To Previous Page IconTo Previous Page
Loading...
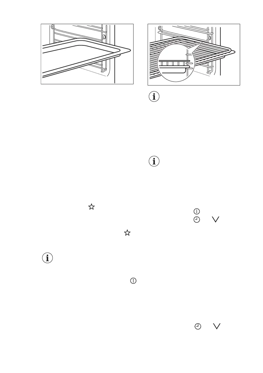
Wire shelf and deep pan together:
Push the deep pan between the guide
bars of the shelf support and the wire
shelf on the guide bars above.
Small indentation at the top
increase safety. The
indentations are also anti-tip
devices. The high rim
around the shelf prevents
cookware from slipping of
the shelf.
10. ADDITIONAL FUNCTIONS
10.1 Using My Favourite
Programme function
Use this function to save your favourite
temperature and time settings for an
oven function or programme.
1. Set the temperature and time for an
oven function or programme.
2. Touch and hold
for more than
three seconds. An acoustic signal
sounds.
3. Deactivate the appliance.
To activate the function touch .
The appliance activates your favourite
programme.
When the function
operates, you can
change the time and
temperature.
To deactivate the function touch .
The appliance deactivates your
favourite programme.
10.2 Using the Child Lock
The Child Lock prevents an accidental
operation of the oven.
If the Pyrolysis function
operates, the door is locked.
A message comes on in the
display when you press a
sensor field.
1. You can turn on this function when
the oven is off. Do not set a heating
function.
2. Press and hold for 3 seconds.
3. Press and hold
and at the
same time for 2 seconds.
An acoustic signal sounds.
The display shows SAFE. The door is
locked.
To turn off the Child Lock function repeat
step 3.
10.3 Using the Function Lock
You can turn on the function only when
the oven works.
The Function Lock prevents an
accidental change of the oven function.
1. To turn on the function turn on the
oven.
2. Turn on an oven function or setting.
3. Touch and hold and at the
same time for 2 seconds.
A signal sounds.
Lock comes on in the display.
ENGLISH 15

Related product manuals