EasyManua.ls Logo

Electrolux WD4130 - Page 28

Electrolux WD4130
52 pages
Print Icon
To Next Page IconTo Next Page
To Next Page IconTo Next Page
To Previous Page IconTo Previous Page
To Previous Page IconTo Previous Page
Loading...
28


Installation
6265
23
22
6577
21
6266
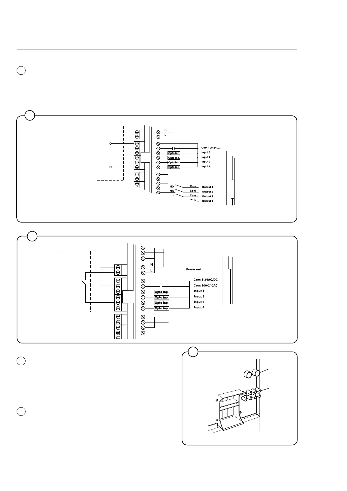
24V
230V
• Connection 7. If this is connected, an error
message will be displayed indicating that one
of the chemical tanks is empty. The washing
program will continue, however.
The figure shows an example of engaging a
normal open contact.
• Connect the liquid dosing hoses to any of the
connections marked A.
22
23
• Connection8maybeconnectedifthewashingprogramistopause,e.g.whilewashing
detergent is being dosed.
Thegureshowsanexampleofengaginga24Vpausesignal.
The washing program will pause for as long as the pause signal remains activated (high).
21
A
A

Related product manuals