EasyManua.ls Logo

Em-Trak A200 - Page 23

Em-Trak A200
104 pages
Print Icon
To Next Page IconTo Next Page
To Next Page IconTo Next Page
To Previous Page IconTo Previous Page
To Previous Page IconTo Previous Page
Loading...
Installation and configuration
Page 21
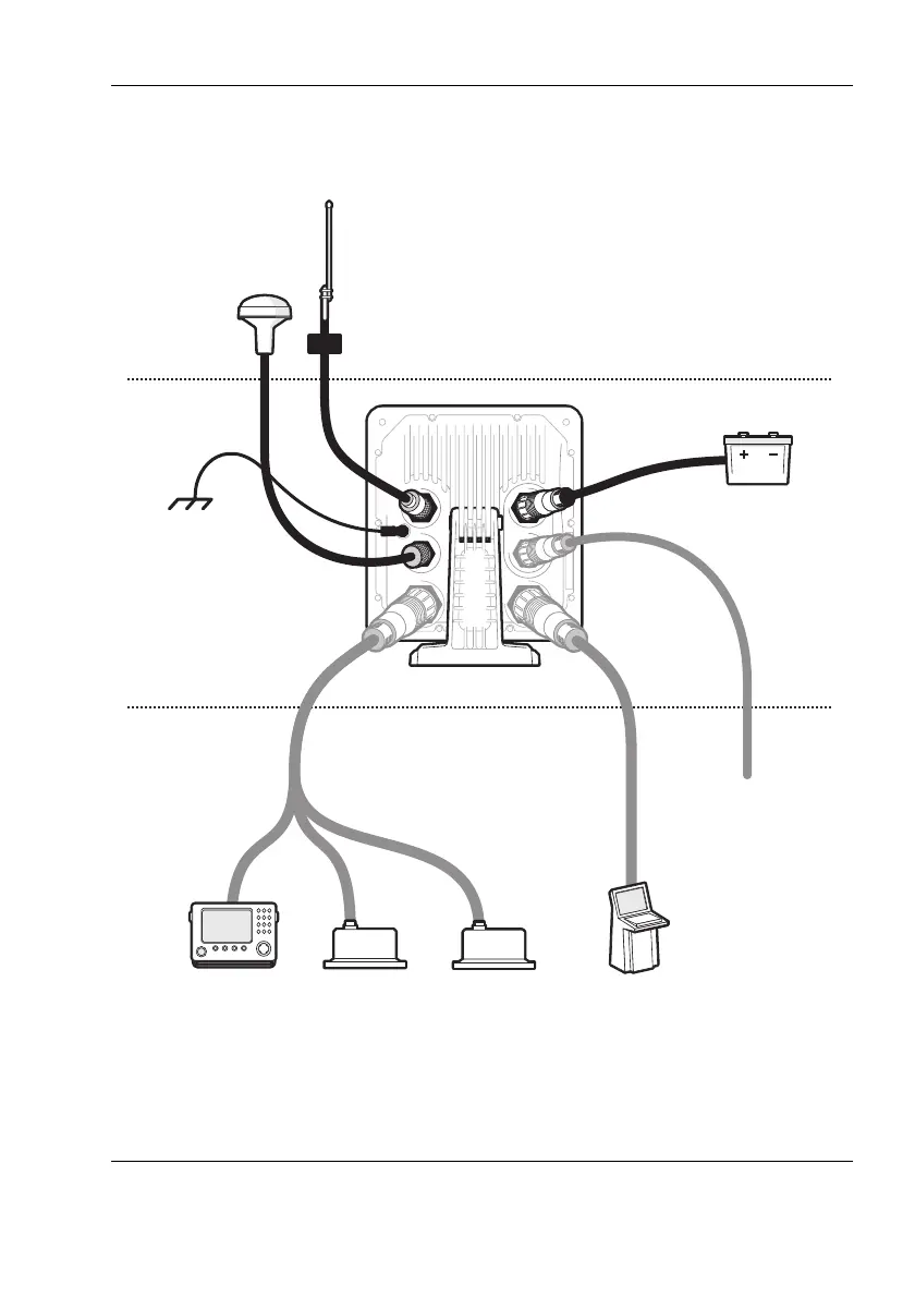
Figure 3 Typical AIS transceiver connection
NMEA2000
Above decks
Below decks
Optional connections
Chassis/GND
GNSS antenna
VHF antenna
12V DC to 24V DC
Supply
Displays
(ECDIS, Radar)
Surge arrestor
Ships sensor data (DGPS, GYRO, Heading)

Table of Contents

Related product manuals