EasyManua.ls Logo

Emos ST201 - Page 12

Emos ST201
Print Icon
To Next Page IconTo Next Page
To Next Page IconTo Next Page
To Previous Page IconTo Previous Page
To Previous Page IconTo Previous Page
Loading...
22
Program číslo Pro l programu
Program 9 – celý deň vypnuté,
úsporné
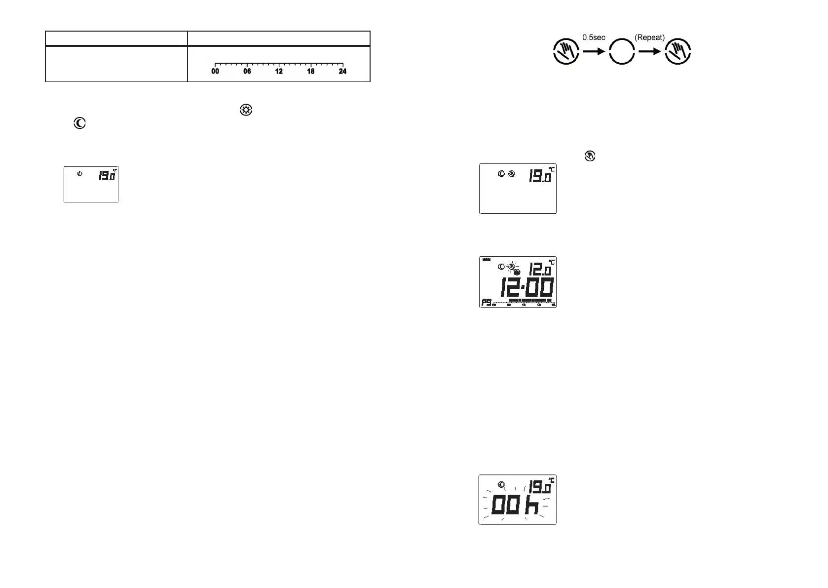
Kontrola (prehliadania) a nastavenie stanovenej teploty
Komfortná (pohodová) teplota je zobrazená ikonou , ekonomická (úsporná) teplota
ikonou
. Pre nastavenie je nutné, aby termostat bol v normálnom režime.
1. Stlačením tlačítok U alebo V (na menej než 2 sekundy) zistíte aktuálnu zadanú
teplotu. Napríklad ukáže nastavenú ekonomickú teplotu na 19 °C. Uvoľnením tlačítka
sa vrátite do normálneho režimu.
2. Podržaním tlačítka U alebo V po dobu dvoch sekúnd sa zadaná teplota rozbliká
a možno ju podľa potreby nastaviť.
3. Stlačením tlačítok U alebo V nastavte požadovanú teplotu.
4. Pokiaľ podržíte tlačítka U alebo V dlhšie, bude sa nastavovaná teplota meniť
rýchlejšie.
5. Stlačením tlačítka COMF/ECON prepínate medzi komfortnou a ekonomickou
teplotou. Pri nastavení sa súčasne menia odpovedajúce ikony.
6. V režime kúrenia stlačte a držte tlačítko COMF/ECON na dobu 1,5 sekundy - zmeníte
nastavenie na ochranu proti zamrznutiu. Ochrana proti zamrznutiu je nastavená na
5 °C (41 °F) a nie je možné ju zmeniť. Teplota na displeji nebude blikať a stlačením
tlačítok U alebo V nejde nastaviť. Možno ju iba prehliadať.
7. V režime kúrenia stlačenie tlačítka SETBACK (zelené tlačítko) zobrazí nastavenie tej
teploty. Funkcia zníženia teploty j e spustená na ekonomickú teplotu o 3 °C (6 °F)
nižšiu. Ako náhle je spustená, je nezávislá na ekonomickej teplote dokiaľ nedôjde k
ďalšiemu spusteniu Setback funkcie. Zníženie teploty nemôže mať hodnotu vyššiu
než je nastavená ekonomická teplota. V režime chladenia stlačenie tlačítka Setback
(zníženie teploty) nemá žiadny účinok.
Kedykoľvek stlačíte tlačítko OK alebo počkáte 15 sekúnd dôjde k návratu do normál-
neho režimu.
Poznámka:
Rozsah regulovanej teploty je možný od 10 °C do 35 °C po kroku 0,5 °C (45 °F až 95 °F po
1 °F). V režime kúrenia nemôže byť ekonomická teplota vyššia než komfortná teplota.
Pre chladenie je to naopak.
Potlačenie programu - ručné ovládanie
Používa sa v normálnom režime, keď potrebujeme hodnoty dané programom zmeniť
dočasne. Zobrazenie ikony pre dočasné potlačenie programu.
23
Dočasné potlačenie programu
1. Stlačením tlačítka SETBACK (zelené tlačítko) v režime kúrenia prepínate medzi
normálnym režimom a znížením teploty. V režime chladenia prepína normálny
režim a vypnutie.
2. Stlačením a uvoľnením tlačítka COMF/ECON (menej než 1,5 sekundy) prepínate
medzi komfortnou a ekonomickou teplotou. Dočasné potlačenie programu je
zobrazené na displeji ikonou
spoločne s teplotou.
3. Stlačením tlačítka na dobu kratšiu než 1,5 sekundy zmeníte nastavenie na ochranu
proti zamrznutiu.
4. Ikona pre dočasné potlačenie programu bliká a termostat je nastavený.
Poznámka:
Pre chladenie a ochranu proti zamrznutiu nie je potlačenie programu k dispozícií a na
displeji sa pre nastavované údaje objaví --.- alebo -- .
Časovač a trvalé potlačenie programu
1. V normálnom režime stlačte a držte tlačítko SET (menej než 3 sekundy) a na displeji
sa objaví “O“.
2. Aktuálna nastavená teplota a čas potlačenia je zobrazený. Čas potlačenia bliká. Ak
nebolo potlačenie prednastavené (programové riadenie) , bude zobrazené “00h“ a
ikona potlačenia sa nezobrazí. Pre vypnutie v režime chladenia sa zobrazí --.- alebo
-- na miesto teploty. Pokiaľ bolo dočasné potlačenie programu prednastavené,
potom sa zobrazí --.- alebo -- a objaví sa ikona pre dočasné potlačenie. Časovač
alebo trvalé potlačenie programu bolo nastavené, potom sa zobrazí zostávajúci čas
alebo“9999“( trvalé potlačenie) a indikátor potlačenia.

Related product manuals