EasyManua.ls Logo

Emos ST201 - Page 32

Emos ST201
Print Icon
To Next Page IconTo Next Page
To Next Page IconTo Next Page
To Previous Page IconTo Previous Page
To Previous Page IconTo Previous Page
Loading...
62
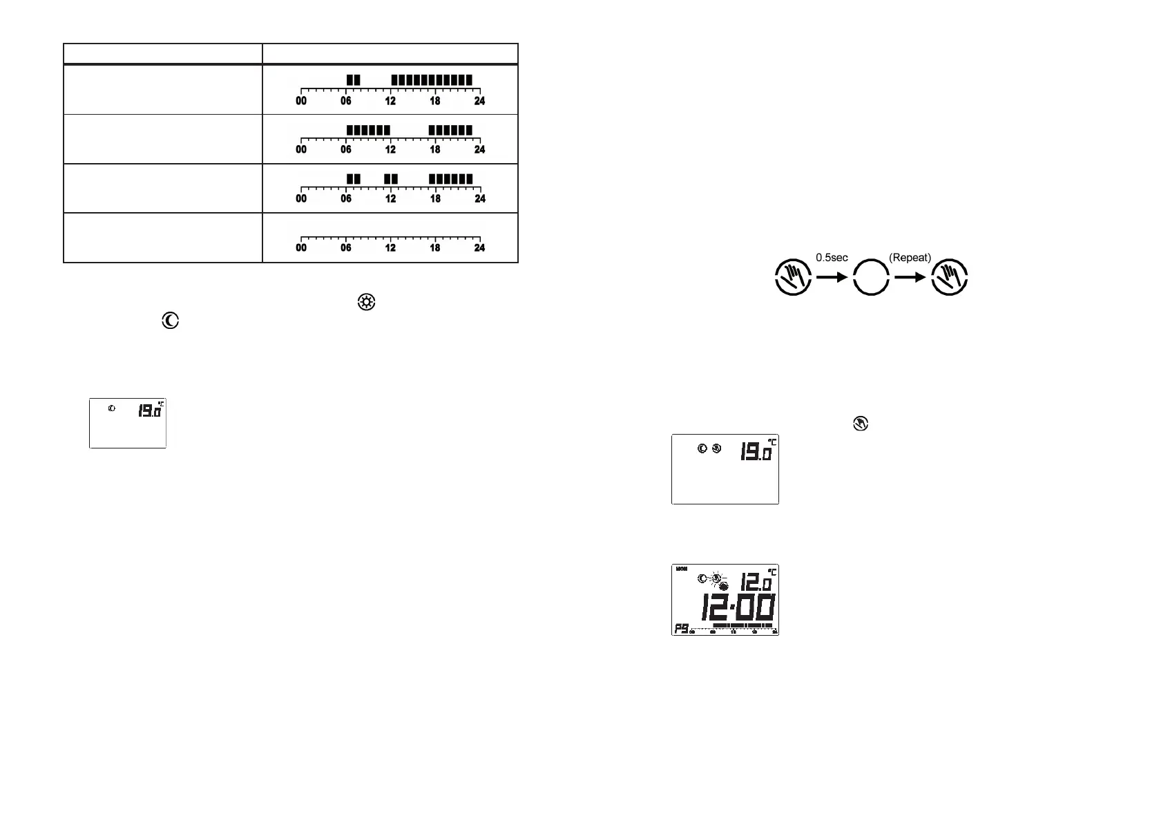
Numer programu Pro l programu
Program 6 – Praca przed
południem
Program 7 –Praca po południu
Program 8 – Dwa okresy czasu
Program 9 – wyłączenie przez cały
dzień, temperatura ekonomiczna
Kontrola (przeglądanie) i ustawianie wymaganej temperatury
Komfortową (optymalną) temperaturę przedstawia ikona , temperaturę ekonomiczną
(oszczędną) ikona
. Do ustawiania konieczne jest, żeby termostat znajdował się w
normalnym trybie.
1. Naciskając przycisk U albo V (krócej niż przez 2 sekundy) wyświetlamy aktualną
temperaturę zadaną. Na przykład widzimy ustawioną temperaturę ekonomiczną
na 19 °C. Zwalniając przycisk wracamy do normalnego trybu.
2. Przytrzymując przycisk U albo V przez czas dłuższy od 2 sekund powodujemy
miganie temperatury zadanej i możemy ją teraz ustawić zgodnie z potrzebami.
3. Naciskając przycisk U albo V ustawiamy pożądaną temperaturę.
4. Jeżeli przytrzymamy przycisk U albo V dłużej, to zmiany ustawianej temperatury
będą szybsze.
5. Naciskając przycisk COMF/ECON dokonujemy przełączania między temperaturą
komfortową, a ekonomiczną. Podczas ustawiania zmieniają się też właściwe
ikony.
6. W trybie ogrzewania naciskamy i przytrzymujemy przycisk COMF/ECON przez 1,5
sekundy – zmieniamy ustawienie na ochronę przed zamarznięciem. Ochrona przed
zamarznięciem jest ustawiona na 5 °C (41 °F) i nie można jej zmienić. Temperatura
na wyświetlaczu nie będzie migać i naciskając przyciski U albo V nie można jej
ustawiać. Można ją tylko wyświetlić.
7. Naciśnięcie przycisku SETBACK (zielony przycisk) w trybie grzania pokaże ustawienie
obniżanej temperatury. Funkcja obniżenia temperatury jest włączona na wartość
niższą od ekonomicznej o 3 °C (6 °F). Jeżeli zostanie włączona, to nie jest zależna
od temperatury ekonomicznej, aż nie dojdzie do następnego uruchomienia funkcji
Setback. Obniżana temperatura nie może mieć wartości mniejszej od ustawionej
63
temperatury ekonomicznej. W trybie chłodzenia naciśnięcie przycisku Setback
(obniżenie temperatury) nie powoduje żadnego działania.
Jeżeli w dowolnej chwili naciśniemy przycisk OK albo zaczekamy 15 sekund nastąpi
powrót do trybu normalnego.
Uwaga:
Temperaturę można regulować w zakresie od 10 °C do 35 °C krokami co 0,5 °C (45 °F
do 95 °F co 1 °F).
W trybie grzania temperatura ekonomiczna nie może być większa od komfortowej.
Przy chłodzeniu jest odwrotnie.
Wyłączenie programu – sterowanie ręczne
Jest stosowane w normalnym trybie, kiedy na chwilę potrzebujemy zmienić dane zapi-
sane w programie. Wyświetlane ikony przy czasowym wyłączeniu programu.
Czasowe wyłączenie programu
1. Naciskając przycisk SETBACK (zielony przycisk) w trybie grzania przełączamy
pomiędzy trybem normalnym i obniżeniem temperatury. W trybie chłodzenia
przełączamy pomiędzy pracą normalną, a wyłączeniem.
2. Naciskając i zwalniając przycisk COMF/ECON (poniżej 1,5 sekundy) przełączamy
pomiędzy temperaturą komfortową i ekonomiczną. Czasowe wyłączenie programu
przedstawia na wyświetlaczu ikona razem z temperaturą.
3. Naciskając przycisk krócej niż 1,5 sekundy zmieniamy ustawienie na ochronę przed
zamarzaniem.
4. Ikona czasowego przerwania programu miga, a termostat jest już ustawiony.
Przy chłodzeniu i ochronie przed zamarzaniem przerwanie programu nie jest dostępne
a na wyświetlaczu zamiast ustawianych danych zostaną wyświetlone --.- albo -- .
Układ czasowy i wyłączenie programu na stałe
1. W trybie normalnym naciskamy i przytrzymujemy przycisk SET (krócej od 3 sekund)
a na wyświetlaczu pojawia się “O“.
2. Wyświetlana jest aktualnie wyświetlana temperatura oraz czas przerwania. Miga
czas przerwania. Jeżeli przerwanie nie było ustawione wcześniej (sterowanie progra-

Related product manuals