EasyManua.ls Logo

Empi Select - Program Selection and Reset

Empi Select
52 pages
Print Icon
To Next Page IconTo Next Page
To Next Page IconTo Next Page
To Previous Page IconTo Previous Page
To Previous Page IconTo Previous Page
Loading...
Select User’s Manual
26
Select User’s Manual
27
OperationOperation
Intensity Lockout Feature
To unlock the unit, simply press the intensity decrease button for the channel you
wish to change and the unit will unlock. This allows the intensity to be adjusted either up
or down. The program can also be changed when the intensity is above zero. As soon as
the program is selected, the unit will automatically decrease the intensity of the current
program to zero on both channels and change to the new program selected. Intensity can
then be increased on that program.
Quick Select Feature
The Select has five buttons that allow you to quickly choose the most commonly used
programs for a particular body part. Choices include Low Back/Hip, Knee, Hand/Wrist,
Shoulder, and Back. By pressing one of the Quick Select buttons, the unit is automatically
set up for a particular program option. Intensity is still adjusted by pressing the intensity
control buttons and will start at zero.
NOTE:
Holding a Quick Select body part button for five (5) seconds after adjusting the
parameters will save the parameters and the “Customtext icon appears. The “Custom”
text icon will
flash if any parameters are adjusted and saved.
NOTE:
See the Intensity Lockout Feature section above to change the program
parameters.
Low Back/
HipProgram
Option 3
Hand/Wrist
Program
Option 4
Shoulder
Program
Option 2
Knee
Program
Option 1
Back
Program
Option 5
Turning On the Device
Turn on the Select by pressing the On/Off button. Turning the unit on will default to the last
treatment used. The intensity of both channels will be 0.0 when the unit is turned on.
Choosing the Treatment Settings
You r clinician has recommended one of the program options explained in the Quick Select
Feature or Program Option Controls sections in the Operation section of this manual. Set
the device to the recommended setting if different from the one shown on the display.
NOTE:
Follow your clinician’s instructions about changing the recommended settings to
achieve optimum comfort level.
Program Option Controls
Select offers nine (9) program options. To select a specific program option, depress the
Mode button or one of the Quick Select buttons.
1 Quick Select Knee Program - Alternating Ramped Burst (ARB)
2 Quick Select Shoulder Program - Simple Modulated Pulse (SMP)
3 Quick Select Low Back/Hip Program - Modulated Amplitude (MA)
4 Quick Select Hand/Wrist Program - Simple Modulated Pulse (SMP)
5 Quick Select Back Program - Modulated Amplitude (MA)
6 Continuous (C)
7 Burst
8 Simple Modulated Pulse (SMP)
9 Modulation
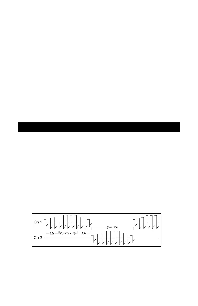
Quick Select Knee Program – Alternating Ramped Burst (ARB)
The Alternating Ramped Burst program is the same as the Burst, but Channel 2 starts after
Channel 1 has completed a cycle. Channel 1 gradually increases intensity from 0 to the
set level over 0.5 seconds, holds at the set intensity for 5.0 seconds, and then decreases
intensity over 0.5 seconds. After decreasing intensity to zero, Channel 1 stays off while
Channel 2 increases, holds, and decreases via the same pattern as Channel 1.
Quick Select Button Reset Mode
With the unit off, pressing the On/Off button while holding down the Set button will take you
to the Quick Select Button Reset Screen. The “Datatext icon will appear.
The body part icons will be displayed along with the “Custom” text icon associated with the
body part icon. “CP” appears on the screen to clear all five programs saved on the unit.
Pressing the On/Off button will exit the Quick Select button reset screen, or after one (1)
minute has passed and no buttons have been pressed, the unit will automatically exit the
Quick Select button screen and turn off.
user_manual_NEW_BH_edit_r5.indd 26-27 3/3/08 2:08:43 PM
Pressing both Down arrow buttons on each intensity channel
programs and reset the Quick Select buttons to the default
parameters for each program in the
Specifications
section.
no longer be displayed. Pressing the On/Off button will cancel the
and will reset the programs to default parameters.
and then releasing the buttons
will confirm the clearing of
parameters. See the default
The “Custom” text icon will
clearing of the programs

Table of Contents