EasyManua.ls Logo

Epson ActionPrinter 3250 - Page 94

Epson ActionPrinter 3250
103 pages
Print Icon
To Next Page IconTo Next Page
To Next Page IconTo Next Page
To Previous Page IconTo Previous Page
To Previous Page IconTo Previous Page
Loading...
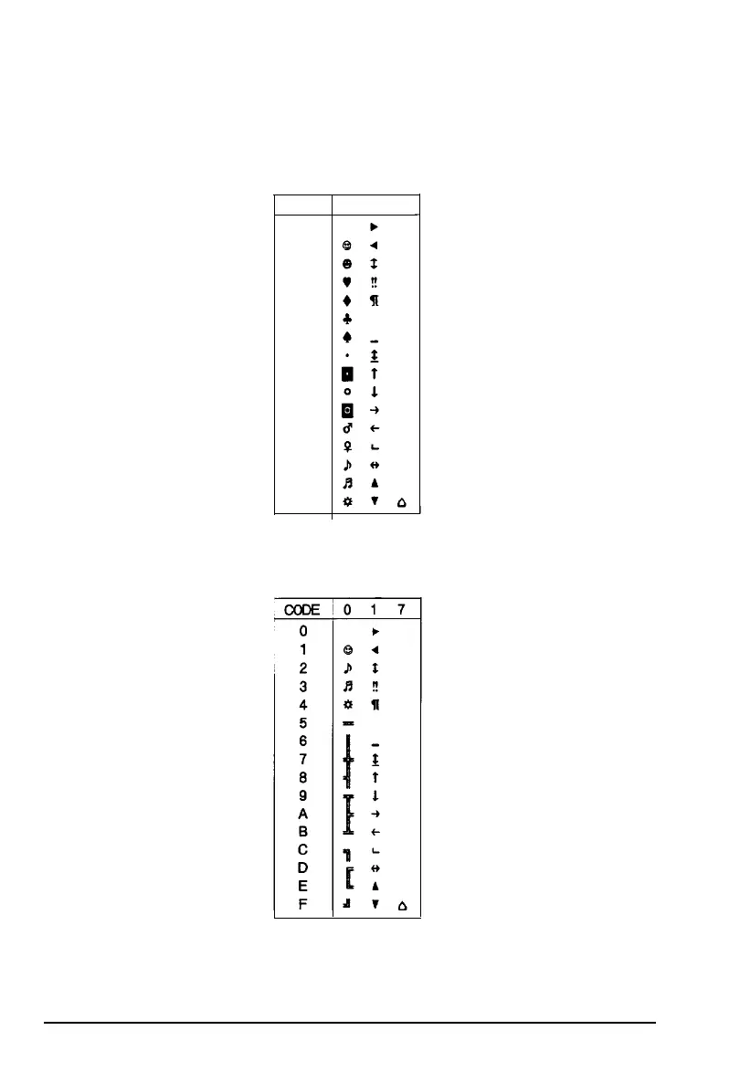
Character Tables
Character available with ESC ( ˆ
To print the characters in the table below, you must first send the ESC ( ˆ command.
CODE
0 1
7
0
1
2
3
4
5
6
7
8
9
A
B
C
D
E
F
0 1 0
The following characters are available with PC 864 (Arabic) only.
Appendix
A-27

Table of Contents

Related product manuals