EasyManua.ls Logo

Epson FX-1050 - Initialization

Epson FX-1050
223 pages
Print Icon
To Next Page IconTo Next Page
To Next Page IconTo Next Page
To Previous Page IconTo Previous Page
To Previous Page IconTo Previous Page
Loading...
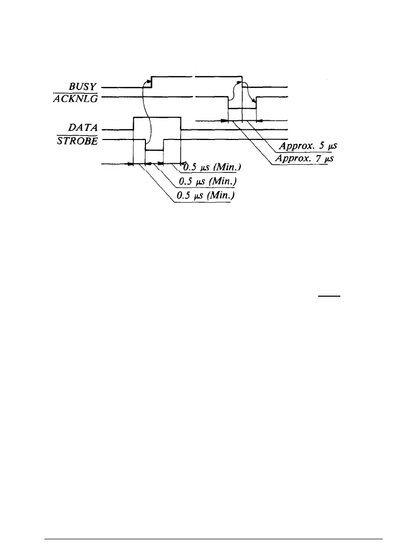
Interface timing
The figure below shows the timing for the parallel interface.
Initialization
There are three ways that the printer can be initialized (returned to a
fixed set of conditions).
Hardware initialization
l
When the power is turned on.
l
When the printer receives an INIT signal at
the parallel interface (pin 31 goes LOW).
Software initialization
l
Software sends the ESC @ (initialize the
printer) command.
A-8
Technical Specifications

Table of Contents

Related product manuals