EasyManua.ls Logo

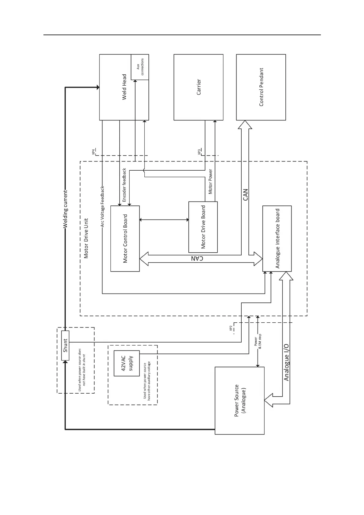
ESAB EAC 10 - Analogue Power Source Diagram

ESAB EAC 10
24 pages
Print Icon
To Next Page IconTo Next Page
To Next Page IconTo Next Page
To Previous Page IconTo Previous Page
To Previous Page IconTo Previous Page
Loading...
DIAGRAM
0463 609 101
- 19 -
© ESAB AB 2020
Analogue power source

Related product manuals