EasyManua.ls Logo

ESAB Miniarc 150 - Page 23

ESAB Miniarc 150
48 pages
Print Icon
To Next Page IconTo Next Page
To Next Page IconTo Next Page
To Previous Page IconTo Previous Page
To Previous Page IconTo Previous Page
Loading...
23
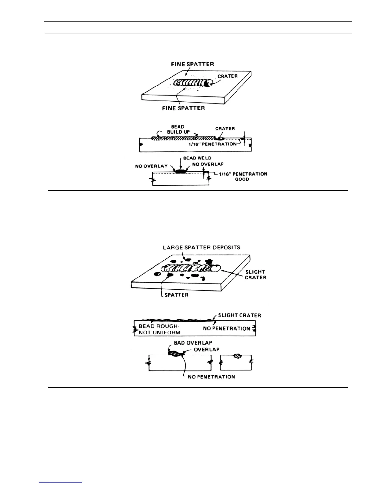
Figure 3.14 Proper Weld Bead
Probably the first attempts in the practice will fail short of the results shown. Too long an arc will be held or the travel speed
will vary from slow to fast and the welds will look as illustrated in Figure 3.15 showing a cross section through a poor weld-
ing bead. In addition, the weld will probably be spongy (porous) and of low strength.
Figure 3.15 Poor Weld Bead
SECTION 3 OPERATION

Related product manuals