EasyManua.ls Logo

ETCR ETCR2000E Plus - Measurement Methods for Earth Resistance; Multi-Point Grounding System Measurement

ETCR ETCR2000E Plus
44 pages
Print Icon
To Next Page IconTo Next Page
To Next Page IconTo Next Page
To Previous Page IconTo Previous Page
To Previous Page IconTo Previous Page
Loading...
-22-
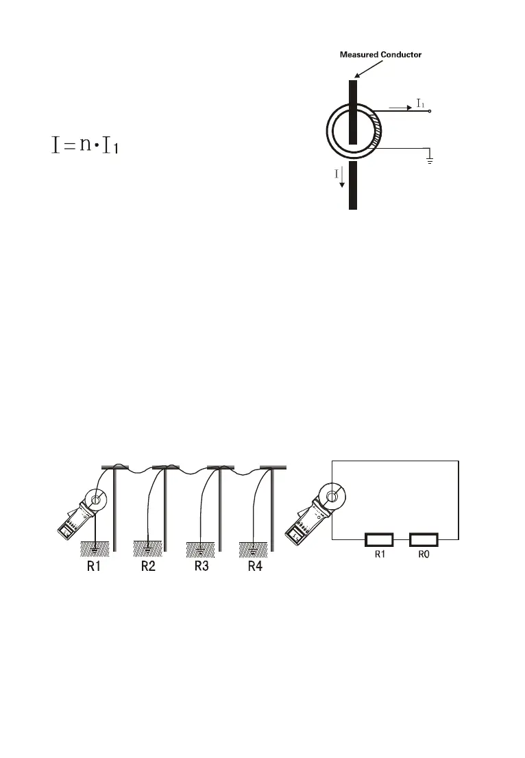
current I
1;
The Meter will measure I
1
,
and the measured current I can be
obtained by the following formula.
Where: n is the turn ratio of the
secondary side vs. primary side.
IX. Measurement Method of Earth Resistance
1. Multi-Point Grounding System
As for the multi-point grounding system (such as electricity trans-
mission tower grounding system, grounding cable communications
systems, certain buildings, etc.), They usually pass the overhead
ground wire (cable shielding layer) connected to form a grounding
system.
As the Meter is in the above measurement, its equivalent electric
circuit is shown in the figure below:
Where: R
1
is the target grounding resistance.
R
0
is the equivalent resistance of the other entire tower
grounding resistances paralleled.
Although strictly on the theoretical grounding, because of the ex-

Related product manuals