EasyManua.ls Logo

EUTECH INSTRUMENTS COND 6 PLUS - Connecting the Electrode

EUTECH INSTRUMENTS COND 6 PLUS
40 pages
Print Icon
To Next Page IconTo Next Page
To Next Page IconTo Next Page
To Previous Page IconTo Previous Page
To Previous Page IconTo Previous Page
Loading...
Instruction Manual COND 6+, TDS 6+, SALT 6+
-6-
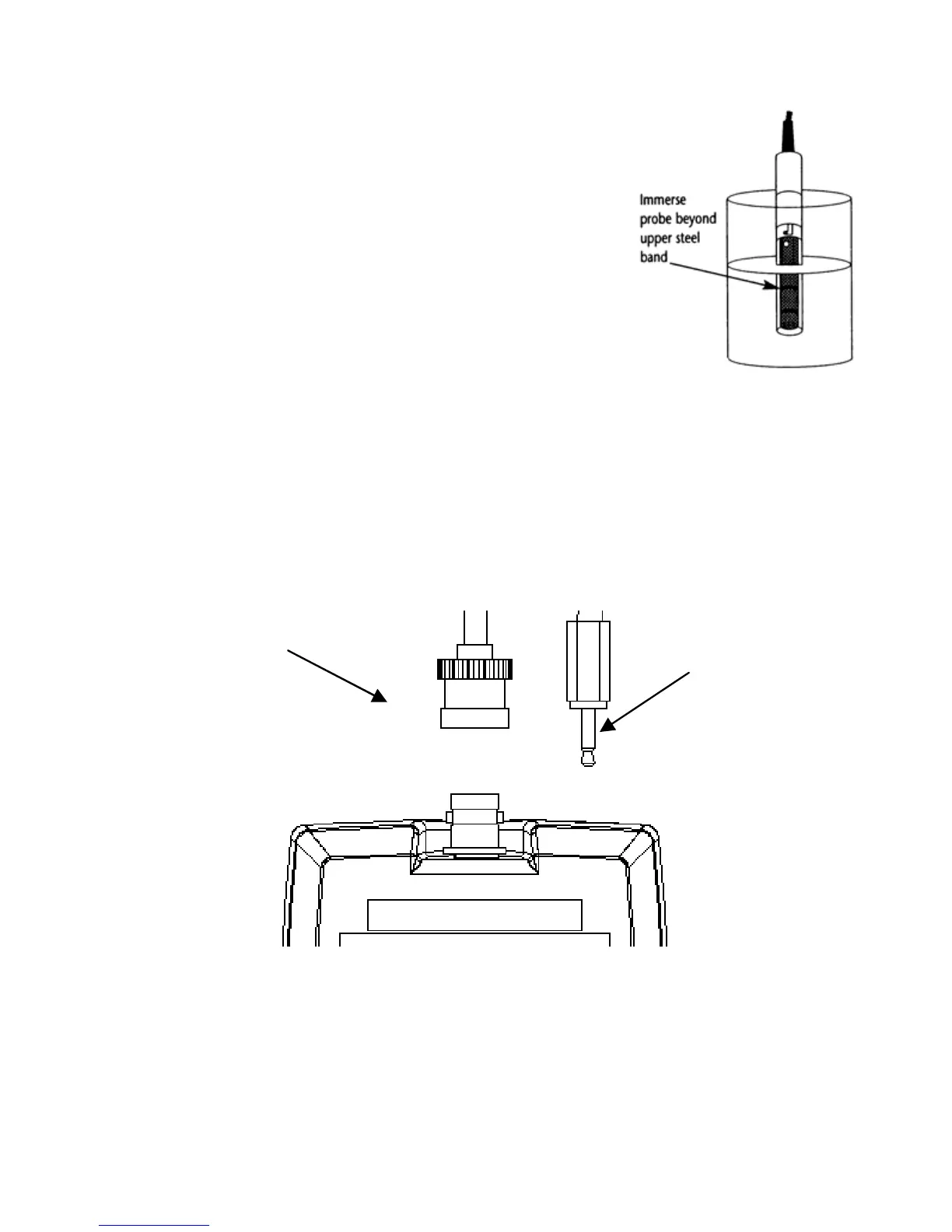
1. DO NOT measure or calibrate without the protective
probe guard in place.
2. Immersion above the protective guard is not
recommended. The cable can be submerged briefly
but is not designed for continuous immersion.
See “Probe Care and Maintenance” for more information.
2.7 Connecting the Electrode
1. To connect electrode, align the connector slots with
the posts of meter’s socket and rotate connector
clockwise until it locks.
2. To remove, rotate the connector in anti-clockwise direction until it unlocks, and
slide the connector off the socket.
3. Insert the mini phono jack of temperature sensor into the socket on the meter as
shown below.
BNC connector 2.5 mm mini phono
for temperature

Related product manuals