EasyManua.ls Logo

EWM PHOENIX 301 EXPERT forceArc - Latched Mode

EWM PHOENIX 301 EXPERT forceArc
146 pages
Print Icon
To Next Page IconTo Next Page
To Next Page IconTo Next Page
To Previous Page IconTo Previous Page
To Previous Page IconTo Previous Page
Loading...
Functional characteristics
TIG welding
74 Item No.: 099-004833-EWM01
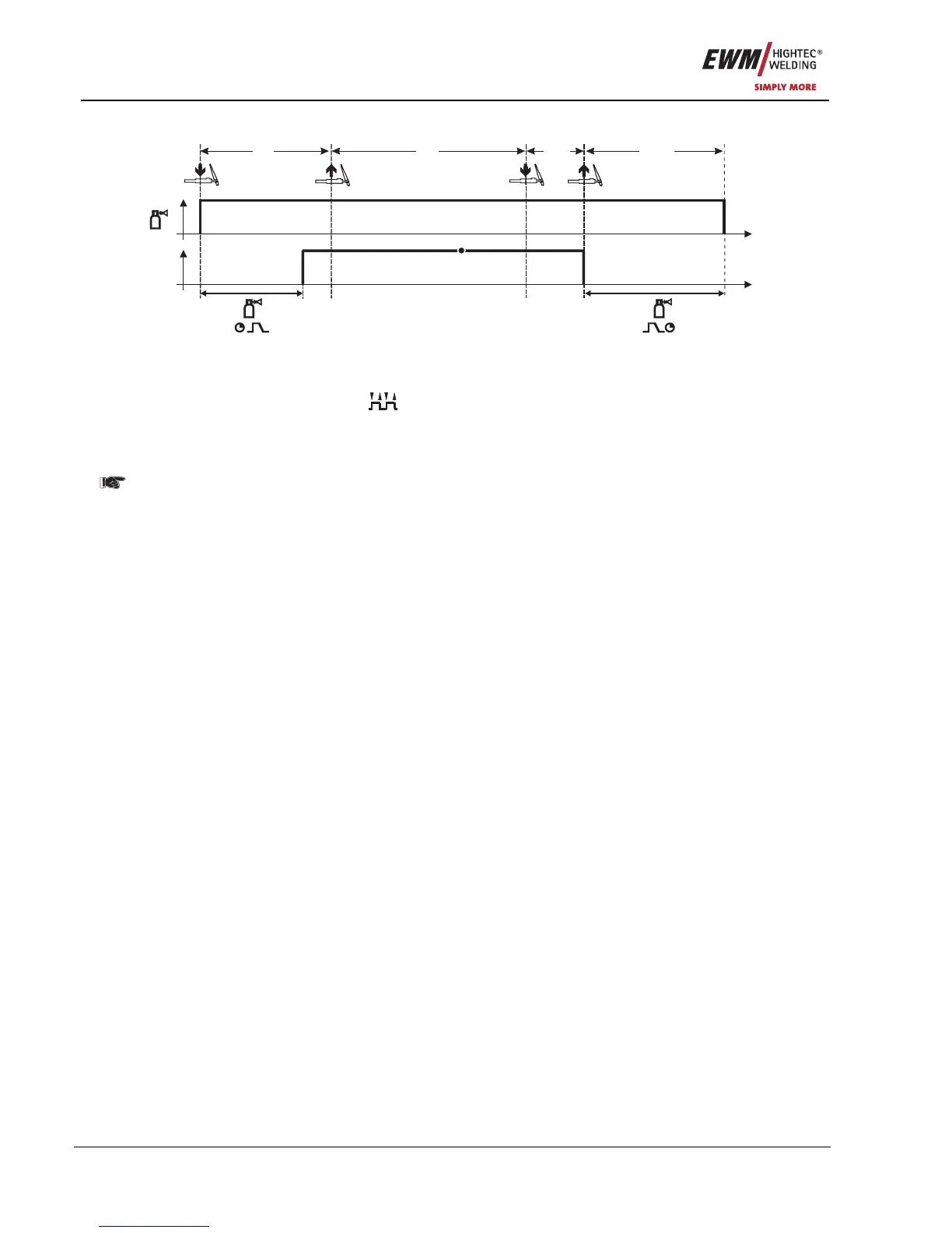
5.3.5.4 Latched mode
t
t
I
1. 2. 3. 4.
P
A
Figure 5-34
Selection
Select latched operating mode
.
Step 1
Press and hold torch trigger
Shielding gas is expelled (gas pre-flows)
The arc is ignited using liftarc.
Welding current flows with pre-selected setting.
Step 2
Release torch trigger (no effect)
Step 3
Press torch trigger (no effect)
Step 4
Release torch trigger
Arc is extinguished.
Gas post-flow time elapses.

Table of Contents

Related product manuals