EasyManua.ls Logo

FARFISA INTERCOMS 924N - Intercommunicating System Wiring Diagrams (Si 230;5); 2 Intercommunicating Intercoms Diagram; 3 Intercommunicating Intercoms Diagram; 4 Intercommunicating Intercoms Diagram

Default Icon
50 pages
Print Icon
To Next Page IconTo Next Page
To Next Page IconTo Next Page
To Previous Page IconTo Previous Page
To Previous Page IconTo Previous Page
Loading...
42
8 GbD-02
P3
P2
P1
7
5
6
3
2
1
P2
P3
P1
7
5
6
3
2
1
P1
P3
P2
7
5
6
3
2
1
P3
P2
P1
7
5
6
3
2
1
CT3
+SP
+RS
CT2
+SP
+RS
CT1
+SP
+RS
3
2
1
P2
P1
7
5
6
3
2
1
P2
P1
7
5
6
3
2
1
P1
P2
7
5
6
3
2
1
CT3
+SP
+RS
CT2
+SP
+RS
CT1
+SP
+RS
2
1
SR 40
SR 40
P1
7
5
6
3
2
1
P1
7
5
6
3
2
1
CT2
+RS
CT1
+RS
1
SR 40
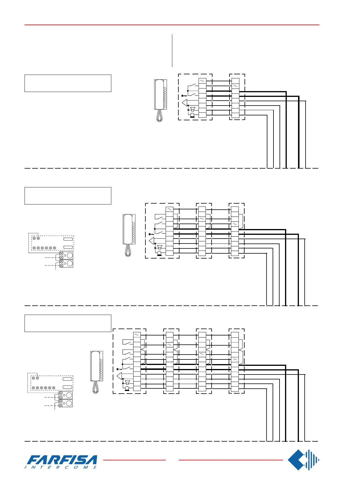
WORKING DIAGRAMS FOR INTERCOMMUNICATING SYS-
TEMS WITH A DOOR STATION AND COMMON CALL AND
ELECTRONIC BELL FOR INTERNAL CALLS.
Combine with the systems Si 230/5.
2 intercommunicating intercoms
2 Gegensprechhaustelefone
ANWENDUNGSSCHALTPLÄNE FÜR EINFAMlLIENHAUS
GEGENSPRECHANLAGEN MIT TÜRSTATION UND ELEK-
TRONISCHEM KLANGRUF FÜR INTERNRUFE.
Kombinierbar mit dem Schaltplan Si 230/5.
4 intercommunicating intercoms
4 Gegensprechhaustelefone
3 intercommunicating intercoms
3 Gegensprechhaustelefone
Connect one of the two terminals of the single button unit
to terminal 7.
Eine Anschlußklemme der Zusatztasten muß mit der
Klemme 7 verbunden werden.
CT4+SP+RS
Connect one of the two terminals of the single button unit
to terminal 7.
Eine Anschlußklemme der Zusatztasten muß mit der Klem-
me 7 verbunden werden.
9 7
2315P16
P2
P3
9 7
2315P16
P2
P3

Related product manuals