EasyManua.ls Logo

Farho Nova - Customizing the PIN Code and Factory Resets; Customizing the PIN Code; Restoring Factory Settings

Farho Nova
Print Icon
To Next Page IconTo Next Page
To Next Page IconTo Next Page
To Previous Page IconTo Previous Page
To Previous Page IconTo Previous Page
Loading...
15
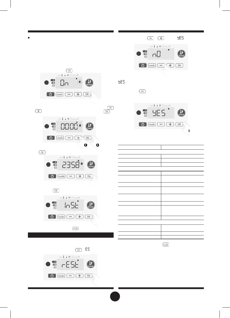
Customizing the PIN code
If you have just activated the PIN code, follow the stages de-
scribed below.
Alternatively, you must copy the steps 1 and 2 of the initialisation
process as well as the steps 1 and 2 of the activation process
before personalising the PIN code.
Please remember that the personalisation of the PIN code can
only be set once the initialisation and activation of the PIN code
has been completed.
1- When
appears, press for at least 5 seconds.
2-
÷2
appears. Press or to select .
5 sec.
= Factory settings reset
÷2
= Factory settings not reset
3- Press the key
for 5 seconds. The device returns to its initial
configuration and goes back automatically to the home dis-
play of the installer settings.
2-
The 0000 code appears and the first number blinks. Press
or
to select the first desired number then press
to
save and exit. Repeat this operation for remaining 3 numbers.
sec.
The following factory values will be effective:
Settings
Factory settings
3-
Press
to confirm. The new code is now saved.
4-
Press again on
to exit setting PIN code mode and go
back to the home display of the installer settings.
To exit the Installer settings, press
twice.
RESTORING FACTORY SETTINGS
If the PIN code protection is disabled, the user and installer settings
are re-initialized:
1- From the PIN code setting, press .
«
W
appears briefly
on the display.
Operating
Comfort setting temperature
19°C
Boost duration
60 min.
Keypad lock
Disabled
User settings
Backlighting
L3
Eco mode temperature
lowering-level
-3,5°C
Frost protection temperature
7°C
Minimum set of Comfort
setting temperature
7°C
Maximum set of Comfort
setting temperature
30°C
Maximal Boost duration
60 min.
Maximum ambient
temperature for the automatic
stop of the Boost
35°C
Temperature unit
°C
Installer settings
Automatic open window
detection
Enabled
PIN code protection
Disabled
Value of the PIN code
0000
To exit the installer settings, press
twice.
15
23

Table of Contents

Related product manuals