EasyManua.ls Logo

FCI ST50 - Transmitter Circuit Calibration; Delta R Verification Procedure

FCI ST50
38 pages
Print Icon
To Next Page IconTo Next Page
To Next Page IconTo Next Page
To Previous Page IconTo Previous Page
To Previous Page IconTo Previous Page
Loading...
This page is subject to proprietary rights statement on last page
21 Doc. No. 06EN003367 Rev. E
ST50 Mass Flow Meter Fluid Components International LLC
Transmitter Circuit Calibration Check (Delta R Verification)
References
Delta R data sheet
Equipment
FC88 Communicator or equivalent.
DMV
Delta R data sheet - Match by serial numbers
2 ea. precision decade resistance boxes, 0.1% (Largest steps: 1k ohm, smallest steps 0.01 ohms)
250-ohm axial lead precision resistor, 0.1% or better, 1 W
Small flat blade screwdriver, 3/32 inches wide blade
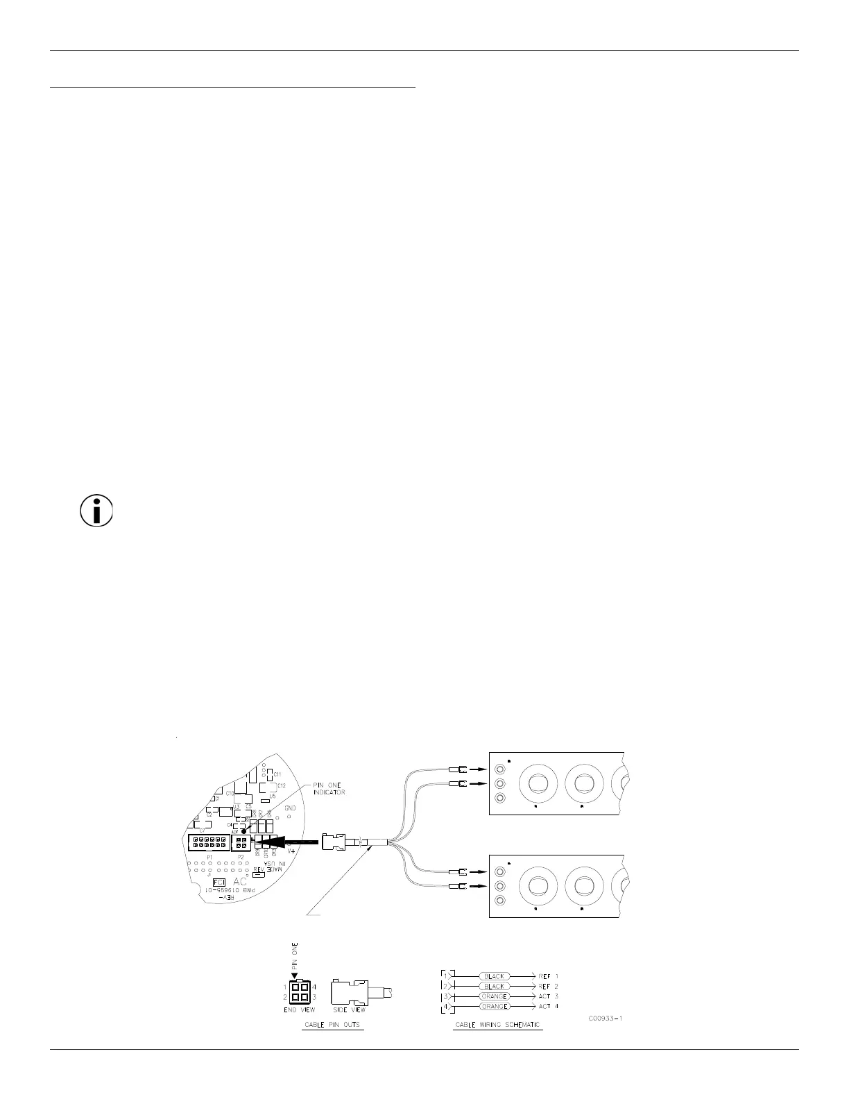
FCI normalization cable, FCI part number 006407
Procedure
1. Verify all “D” mode calibration parameters are correct according to the meter’s Delta R data sheet, before starting verification.
2. Turn power OFF.
3. Mark all sensor element wires connected to the circuit board for easy reconnection to the proper terminals. Disconnect the
wires. Note the orientation of the sensor element plug connected to the circuit board. Unplug the connector from the board.
4. Connect the resistance decade box to the electronics as per the appropriate diagram for the ST50. Connect the 250-ohm resistor
across the 4-20 mA output terminals.
Note: Interconnecting wiring (resistance decade box to electronics) must be same gauge and length (suggested: 24 AWG
and 45") to avoid any inaccuracies in the Delta R verification caused by unequal wire lengths and/or wire gauges. Use of
the FCI normalization cable avoids this issue.
5. Set both decade boxes for the nominal resistance value (1000 ohms) ±0.01%
6. Connect DVM to the meters output termination and monitor the meter output.
7. Turn power ON and allow the instrument 5 minutes to stabilize.
8. With the FC88 connected, press [T] [Enter] to view the Normal Operating Mode.
9. Adjust the Active decade box (Reference decade box remains fixed @ 1000 ohms) to achieve the appropriate Delta R for the
displayed flow value and output, noted on the meters Delta R data sheet.
10. Note the [C] mode and verify the meters displayed TCDR and REFR values corresponding to the displayed flow rate as per the
meters Delta R data sheet.
11. Return to Normal Mode operation ([T] menu).
REFERENCE
NORMALIZATION CABLE
FCI P/N 006407
BLACK
BLACK
ORANGE
ORANGE
1433-W DECADE RISISTOR GENERAL RADIO USA
9
8
7
6
X
G
23mA MAX
1K STEPS
H
L
10K
2
0
1
4
5
3
ACTIVE
6
8
9
X
6
7
100 STEPS
80mA MAX
2
1
0
4
3
5
2
1
4
5
3
1433-W DECADE RISISTOR GENERAL RADIO USA
X
6
7
8
9
G
1K STEPS
23mA MAX
H
L
10K
1
0
2
4
5
3
7
6
X
9
8
6
100 STEPS
80mA MAX
0
1
2
5
3
4
1
2
4
5
3

Other manuals for FCI ST50

Related product manuals