EasyManua.ls Logo

FERRI TKD - ADJUSTMENT AND SETTING UP; Cutting Height Adjustment

Default Icon
34 pages
Print Icon
To Next Page IconTo Next Page
To Next Page IconTo Next Page
To Previous Page IconTo Previous Page
To Previous Page IconTo Previous Page
Loading...
23
5 ADJUSTMENT AND SETTING UP
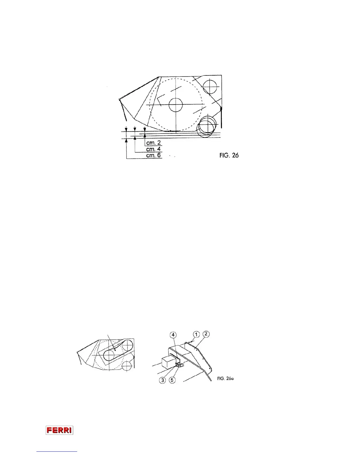
5.1 Adjustment of the height of cut is obtained by shifting the flail head roller in order to
suit the material to be cut and the degree of chopping required (FIG. 26).
For safety reasons, never operate without roller.
5.2 Working speed is chosen to suit the material to be cut and the degree of chopping
required.
The optimum speed ranges from 1 to 2.5 km per hour.
5.3 Adjusting the belt tension
This operation must be done with the flail head resting on the ground, the head
rotation control not selected, the tractor turned off and the starting key out.
- Unscrew the screws (1) and remove the cover casing (2), loosen the locking nuts
(3) and after having loosened the nut (5), move the pulley support plate (4) using
the screw (6) (see FIG. 26a).
Adjust so that the belt tension does not go beyond the arrow shown in the figure.
When the belt is tensioned, lock the nuts (5) and (3) and refit the cover casing (2)
and lock the screws (1).
2.5 ÷ 3.5 kg for HTD
toothed belt 6 mm
ATTENTION: Too much tension causes the bearings to overheat and break and
early wear of the belt.

Related product manuals