EasyManua.ls Logo

FireFlex DUAL - WIRING DIAGRAMS; REMOTE CONTROLLED FIREFLEX DUAL; NOVEC 1230 electric release; Double interlocked preaction electric release

FireFlex DUAL
32 pages
Print Icon
To Next Page IconTo Next Page
To Next Page IconTo Next Page
To Previous Page IconTo Previous Page
To Previous Page IconTo Previous Page
Loading...
Page 24 of 28
®
DUAL
Integrated Fire Protection System
OWNER'S OPERATION & MAINTENANCE MANUAL
FM-0860-0-31F
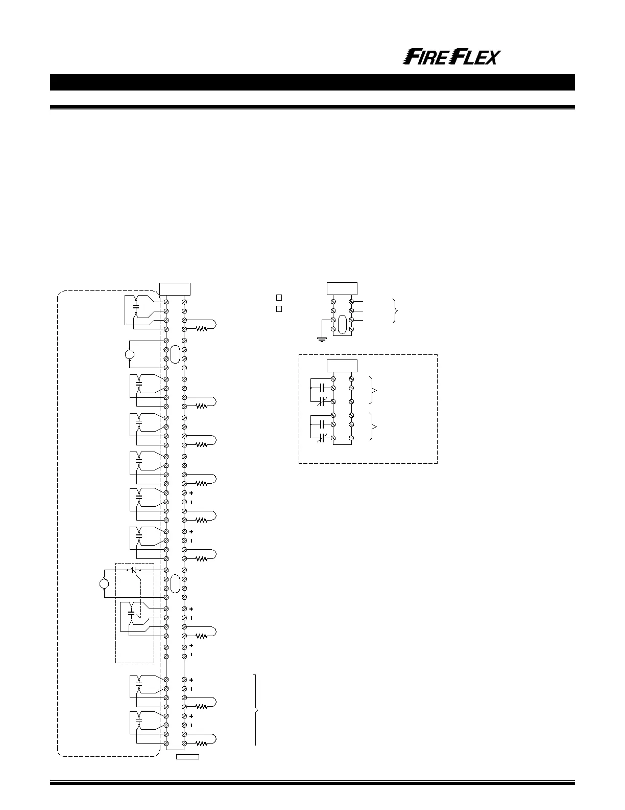
7. WIRING DIAGRAMS
7.1 REMOTE CONTROLLED FIREFLEX
®
DUAL
FIREFLEX
®
DUAL unit provided without integrated releasing
control panel is factory wired for the following configurations:
7.1.1 NOVEC 1230 electric release
Electric release is achieved with an electric actuator (C)
installed on the cylinder valve (B) of the cylinder (A). When
the conditions of release are fulfilled, a 24Vdc source is
applied to the electric actuator (C), which will vent the pressure
on top of the cylinder valve (B) allowing the extinguishing
agent NOVEC 1230 to be discharged through the nozzles.
7.1.2 Double interlocked preaction electric release
Release trim for the double interlocked preaction system
utilizes a normally closed solenoid valve (F1) connected to
an approved release control panel.
When the conditions of release are fulfilled, a 24Vdc
source is applied to the solenoid valve (F1). Upon the
opening of a sprinkler, the pneumatic actuator (F3) will
release, allowing the opening of the deluge valve (A1).
The water will enter the sprinklers network and water will
flow through opened sprinkler heads.
Figure 7.1 – Remote controlled field wiring diagram for
FIREFLEX
®
DUAL
43
44
45
46
EOL
PREACTION
VERY LOW PRESSURE
SUPERVISORY (NYC)
Installed only if options selected
3
2
1
TBC
C
NO
NC
6
5
C
NO
NC
4
Chicago, or L.A. Option
TBA
EOL
FACTORY WIRED DEVICES
1
2
3
4
5
6
7
8
9
10
11
12
13
14
15
16
17
18
19
20
PREACTION
WATER FLOW
S
PREACTION
N.C. SOLENOID
VALVE
EOL
MAIN VALVE
SUPERVISORY
PREACTION
LOW AIR PRESSURE
SUPERVISORY
EOL
EOL
PREACTION
SHUT-OFF VALVE
SUPERVISORY (OPTIONAL)
EOL
NOTES:
- ALL DEVICES ARE SHOWN IN THEIR NORMAL
SUPERVISORY STATE.
- DRY CONTACTS RATINGS:
CYL. LOW PRESS. SWITCHES: 2A@28VDC, 375VA@120VAC
DISCHARGE SWITCHES: 20A@120/240VAC
WATERFLOW & LOW AIR SWITCHES: 2.5A@30VDC, 15A@125/250VAC
VALVE SUP'V SWITCHES: 1A@28VDC, 11A@125VAC
USE ONLY WITH POWER LIMITED CIRCUITS.
- USE END-OF-LINE DEVICES COMPATIBLE WITH THE
RELEASE CONTROL PANEL USED (NOT INCLUDED).
NEUTRAL
GROUND
LINE
120VAC, 60Hz
AC POWER SOURCE INPUT
220VAC, 50 / 60Hz
4
3
2
1
TBB
AIR COMPRESSOR
120 / 220VAC
1/2 HP MAX
21
22
23
24
25
26
27
28
29
30
31
32
33
34
35
36
EOL
37
38
S
NOVEC
ELECTRICAL
ACTUATOR
NOVEC ACTUATOR
EOL
BYBASS SWITCH
SUPERVISORY
LED
POWER
RELEASING CIRCUIT
DISCONNECT
SWITCH
24 VDC
Needed for keyswitch
LEDs operation.
EOL
39
40
41
42
NOVEC
LOW PRESSURE
SUPERVISORY
NOVEC ACTUATOR
SUPERVISORY
NOVEC DISCHARGE
PRESSURE SWITCH
(OPTIONAL)
FM-076Z-0-7B