EasyManua.ls Logo

Fisher 304 - Page 12

Fisher 304
24 pages
Print Icon
To Next Page IconTo Next Page
To Next Page IconTo Next Page
To Previous Page IconTo Previous Page
To Previous Page IconTo Previous Page
Loading...
Type 304 & 304L
12
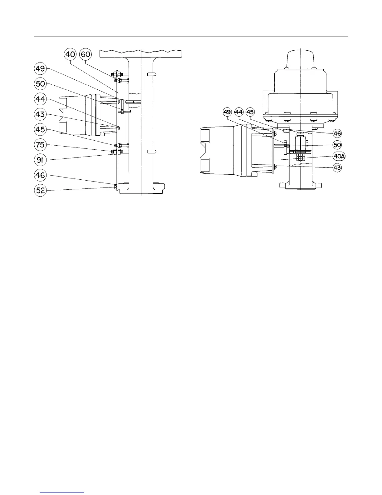
Figure 9. Typical Switch Mounting for T
ype 478-16 Actuator
,
Sizes 60 and 68
NOTE:
REFER TO THE PARTS LIST FOR KEY NUMBER DESCRIPTION AND
ORDERING INFORMATION. REFER TO THE ADDITIONAL PARTS FOR FIELD
MOUNTING SECTION FOR ACTUATOR PARTS REQUIRED FOR MOUNTING
THE TYPE 304 AND 304L SWITCHES.
42A2092–C / IL
Key Description Part Number
49B Arm, pl steel
Sizes 80 and 100 only 16A1156X012
49C Hex nut, pl steel
Sizes 80 and 100 only 1A352224122
50 Cap Screw, Hex Socket Head, steel 1H3697X0022
52 Cap screw, Hex Socket Head, steel 1C631224052
60 Hex Nut, pl steel (3 req’d)
Sizes 60 and 68 1A342124122
75 Hook bolt, pl steel
Sizes 60 and 68 (3 req’d) 10A8522X012
Sizes 80 and 100 (2 req’d) 11A6710X012
91 Hex nut, pl steel (6 req’d) 1A375324112
Type 480-15 Actuator (not shown)
40A Mounting plate, steel 20A1484X012
41 Stem disc, stainless steel (2 req’d) 1P661238992
43 Machine screw, pl steel (4 req’d) 1H340328992
44 Lockwasher, pl steel (4 req’d) 1C225628982
45 Cap screw, pl steel (2 req’d) 1C631224052
46 Lockwasher, pl steel (2 req’d) 1C225728982
49 Arm assembly, stainless steel
Sizes 30-40 1R5305000A2
Size 60 1R5306X0012
50 Cap Screw, Hex Socket Head, steel 1H3697X0022
53 Disc spacer, steel 1R395735132
Type 480-16 Actuator (not shown)
40A Mounting plate, steel 30A0426X012
Figure 10. T
ypical Switch Mounting for T
ype 513 and 513R
Actuators
NOTE:
REFER TO THE PARTS LIST FOR KEY NUMBER DESCRIPTION AND
ORDERING INFORMATION. REFER TO THE ADDITIONAL PARTS FOR FIELD
MOUNTING SECTION FOR ACTUATOR PARTS REQUIRED FOR MOUNTING
THE TYPE 304 AND 304L SWITCHES.
32A2267–B / IL
Key Description Part Number
41 Stem disc, stainless steel (2 req’d) 1R945836012
43 Machine screw, pl steel (4 req’d) 1C582428982
44 Lockwasher, pl steel (4 req’d) 1C225628982
45 Cap screw, pl steel (2 req’d) 1C631224052
49 Arm assembly, stainless steel 1V2586X0012
50 Cap Screw, Hex Socket Head, steel 1H3697X0022
53 Disc spacer, stainless steel 1R763935132
Type 513 and 513R Actuators (figure 10)
40A Mounting plate, steel 3N918125022
43 Machine screw, pl steel (4 req’d) 1A345928982
44 Lockwasher, pl steel (4 req’d) 1C225628982
45 Cap screw, pl steel (2 req’d)
Size 20 1A352624052
Size 32 1A352524052
46 Lockwasher, pl steel (2 req’d) 1C225728892
49 Arm assembly, steel & stainless steel 1U9987000A2
50 Cap Screw, Hex Socket Head, steel 1H3697X0022
54 Spacer, pl steel (2 req’d)
Size 32 only (not shown) 1F906724092
Type 585 and 585R Actuators (figure 11)
29 Cap Screw, pl steel (4 req’d) T13402T0012
40 Mounting plate, pl steel
Sizes 25 & 50 31B5273X012
Size 100 31B5647X012
43 Machine screw, pl steel (2 req’d) 14A9875X012
45 Cap screw, pl steel (4 req’d)
Sizes 25 & 50 1J3880X0012
Size 100 1A407824052

Related product manuals