EasyManua.ls Logo

Fisher 304 - Page 13

Fisher 304
24 pages
Print Icon
To Next Page IconTo Next Page
To Next Page IconTo Next Page
To Previous Page IconTo Previous Page
To Previous Page IconTo Previous Page
Loading...
Type 304 & 304L
13
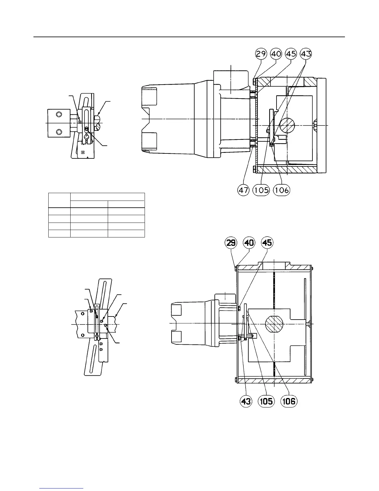
Figure
1
1. T
ypical Switch Mounting for T
ype 585 and 585R Actuators, Sizes 25, 50, and 100
TOP VIEW
TOP VIEW
STEM BRACKET VIEW
STEM BRACKET VIEW
SIZES 25 & 50
SIZE 100
NOTE:
REFER TO THE PARTS LIST FOR KEY NUMBER DESCRIPTION AND
ORDERING INFORMATION
HOLE 3
HOLE 4
HOLE 2
ACTUATOR
STEM
HOLE 1
HOLE 2
ACTUATOR
STEM
HOLE 1
40B0958–B
B2226 / IL
HOLE
NO.
TRAVEL
Inches mm
1
2
3
4
1–1/8 or less
1–1/2 to 2
2–1/2 to 3
3–1/2 to 4
29.6 or less
38.1 to 50.4
63.5 to 229
88.9 to 102
37A9020–B
B1819–1 / IL

Related product manuals