EasyManua.ls Logo

Fisher 304 - Page 18

Fisher 304
24 pages
Print Icon
To Next Page IconTo Next Page
To Next Page IconTo Next Page
To Previous Page IconTo Previous Page
To Previous Page IconTo Previous Page
Loading...
Type 304 & 304L
18
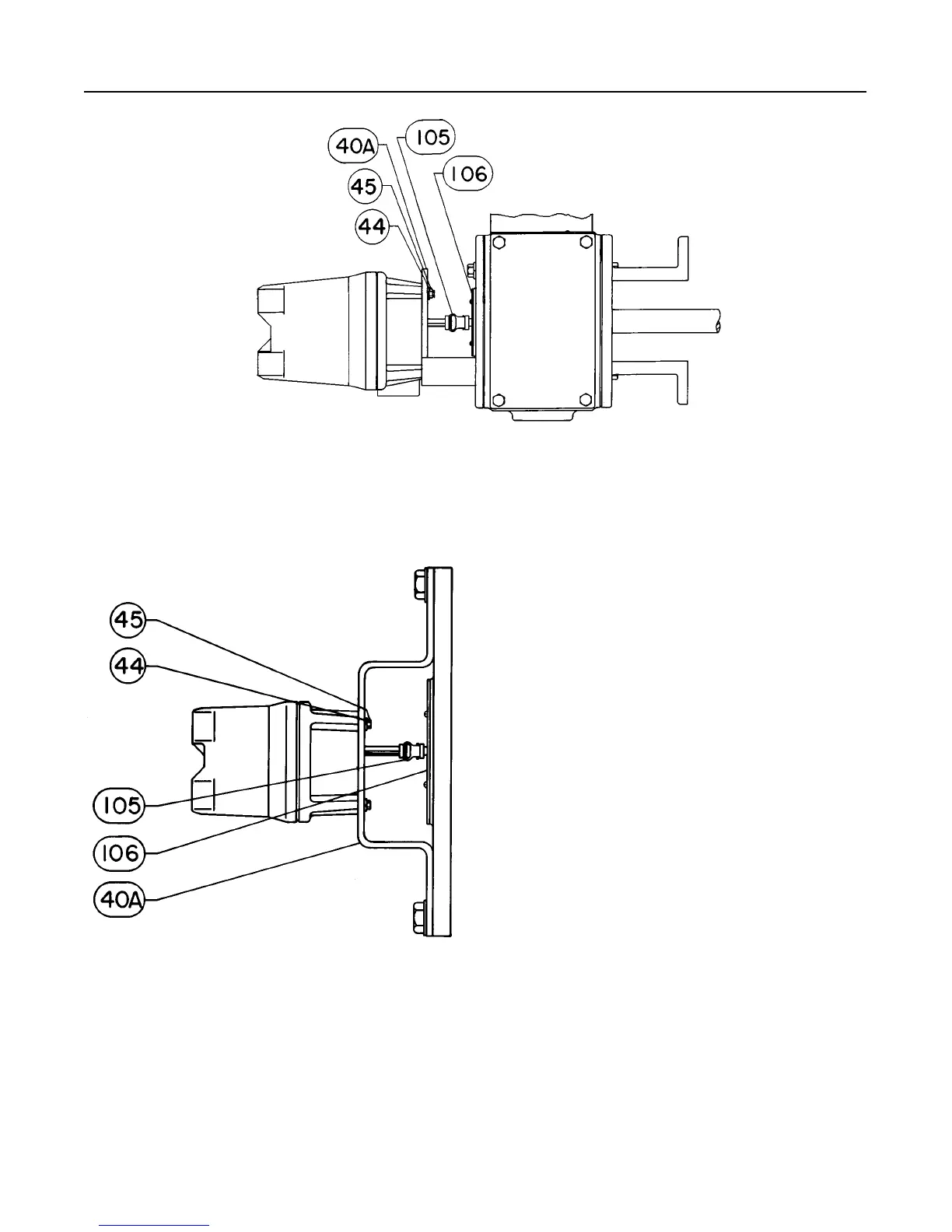
Figure
16. T
ypical Switch Mounting for T
ype 1051, 1052, and 1061 Actuators, Sizes 30, 40, 60, 68, and 70
NOTE:
REFER TO THE PARTS LIST FOR KEY NUMBER DESCRIPTION AND
ORDERING INFORMATION. REFER TO THE ADDITIONAL PARTS FOR FIELD
MOUNTING SECTION FOR ACTUATOR PARTS REQUIRED FOR MOUNTING
THE TYPE 304 AND 304L SWITCHES.
52A9379–F / IL
Figure
17. T
ypical Switch Mounting for T
ype 329,1061,
and 1069 Actuators, Size 80 and Larger
NOTE:
REFER TO THE PARTS LIST FOR KEY NUMBER DESCRIPTION AND
ORDERING INFORMATION. REFER TO THE ADDITIONAL PARTS FOR FIELD
MOUNTING SECTION FOR ACTUATOR PARTS REQUIRED FOR MOUNTING
THE TYPE 304 AND 304L SWITCHES.
35A8010–C / IL
Key Description Part Number
44 Lockwasher, pl steel (4 req’d) 1C225628982
45 Cap screw, pl steel (4 req’d) 1B290524052
Key Description Part Number
105 Coupler 26A5914X012
106 Drive plate assembly, pl steel
Types 1066 and 1066SR
Styles F, G, and H mounting
Sizes 20 and 27 17A9148X012
Size 75 17A9147X012
Type 1076 Actuator (figure 21)
40A Mounting plate, steel
Size 1 34A1595X012
Size 2 34A1600X012
Size 3 55A5033X012
43 Machine screw, pl steel 1P474328982
44 Lockwasher, pl steel (4 req’d) 1C225628982
45 Cap screw, pl steel (4 req’d) 1A391724052
49B Arm, pl steel
Size 1 14A1596X012
Sizes 2 and 3 14A1598X012
50 Machine screw, pl steel (2 req’d) 12A9688X012
85 Cap screw, pl steel (3 req’d)
Size 3 1C870224052
91 Hex nut, pl steel
Sizes 1 and 2 1A342124122
97 Connecting link 1R683999012
98 Trip arm, steel
Size 3 25A5032X012
99 Post, pl steel
Sizes 1 and 2 14A1599X012
101 Cap screw, pl steel (2 req’d)
Size 3 1A407824052
108 Spacer, steel (3 req’d) (not shown)
Size 3 1K766824092
Type 1077 Actuators (figure 22)
40A Mounting Plate, steel
Sizes 0-KE and 2-KE 49A8008X012

Related product manuals