EasyManua.ls Logo

Fisher 304 - Page 19

Fisher 304
24 pages
Print Icon
To Next Page IconTo Next Page
To Next Page IconTo Next Page
To Previous Page IconTo Previous Page
To Previous Page IconTo Previous Page
Loading...
Type 304 & 304L
19
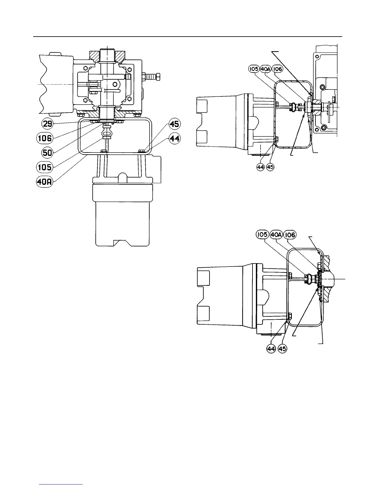
Figure
18. T
ypical Switch Mounting for T
ype 1051
and 1052 Actuator Size 33
NOTE:
REFER TO THE PARTS LIST FOR KEY NUMBER DESCRIPTION AND
ORDERING INFORMATION. REFER TO THE ADDITIONAL PARTS FOR FIELD
MOUNTING SECTION FOR ACTUATOR PARTS REQUIRED FOR MOUNTING
THE TYPE 304 AND 304L SWITCHES.
30B1535–A / IL
Key Description Part Number
40A Mounting Plate, steel (cont)
Size 6-KE 36A5913X012
Sizes 7-KE and 9-KE 30B0650X012
Size 10-KE:6 30B8491X012
44 Lock Washer, pl steel (4 req’d) 1C225628982
45 Cap Screw, pl steel (4 req’d) 1A391724052
105 Coupler 26A5914X012
106 Coupler Plate Ass’y, pl steel
Size 0-KE 19A8006X012
Size 2-KE 19A8003X012
Size 6-KE 19A8954X012
Size 7-KE 19A8004X012
Sizes 9-KE and 10-KE:6 19A8005X012
Type 1078 Actuators (figure 23)
40A Mounting Bracket, steel
Size A 38A4477X012
Size AA 31B5750X012
Size AAA 38A4476X012
44 Lock Washer, pl steel (4 req’d) 1C225628982
45 Cap Screw, pl steel (4 req’d) 1B290524052
Figure 19. T
ypical Switch Mounting for T
ype 1052
Actuator, Size 20
NOTE:
REFER TO THE PARTS LIST FOR KEY NUMBER DESCRIPTION AND
ORDERING INFORMATION. REFER TO THE ADDITIONAL PARTS FOR FIELD
MOUNTING SECTION FOR ACTUATOR PARTS REQUIRED FOR MOUNTING
THE TYPE 304 AND 304L SWITCHES.
39A2422–A
A3203–1 / IL
INDICATOR
SCALE
CAP SCREW
INDICATOR
Figure
20. T
ypical Switch Mounting for T
ype 1066
and 1066SR Actuators
NOTE:
REFER TO THE PARTS LIST FOR KEY NUMBER DESCRIPTION AND
ORDERING INFORMATION. REFER TO THE ADDITIONAL PARTS FOR FIELD
MOUNTING SECTION FOR ACTUATOR PARTS REQUIRED FOR MOUNTING
THE TYPE 304 AND 304L SWITCHES.
INDICATOR
SCALE
CAP
SCREW
INDICATOR
39A0627–A
A3206–1 / IL
Key Description Part Number
105 Coupler 26A5914X012
106 Drive Plate Ass’y
Size A & AA, stainless steel 11B6946X012
Size AAA, pl steel 17A9148X032

Related product manuals