EasyManua.ls Logo

Fisher 304 - Page 20

Fisher 304
24 pages
Print Icon
To Next Page IconTo Next Page
To Next Page IconTo Next Page
To Previous Page IconTo Previous Page
To Previous Page IconTo Previous Page
Loading...
Type 304 & 304L
20
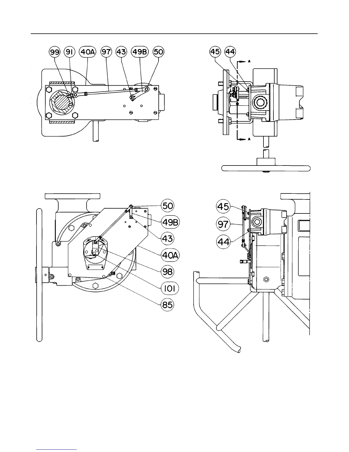
Figure
21. T
ypical Switch Mounting for T
ype 1076 Actuator
NOTE:
REFER TO THE PARTS LIST FOR KEY NUMBER DESCRIPTION AND
ORDERING INFORMATION. REFER TO THE ADDITIONAL PARTS FOR FIELD
MOUNTING SECTION FOR ACTUATOR PARTS REQUIRED FOR MOUNTING
THE TYPE 304 AND 304L SWITCHES.
 
  

35A8014–A / IL
45A9390–A / IL

Related product manuals