EasyManua.ls Logo

Fleck 2750 - System #7 Twin Alternator Installation

Fleck 2750
34 pages
Print Icon
To Next Page IconTo Next Page
To Next Page IconTo Next Page
To Previous Page IconTo Previous Page
To Previous Page IconTo Previous Page
Loading...
Printed in U.S.A.
Page 31
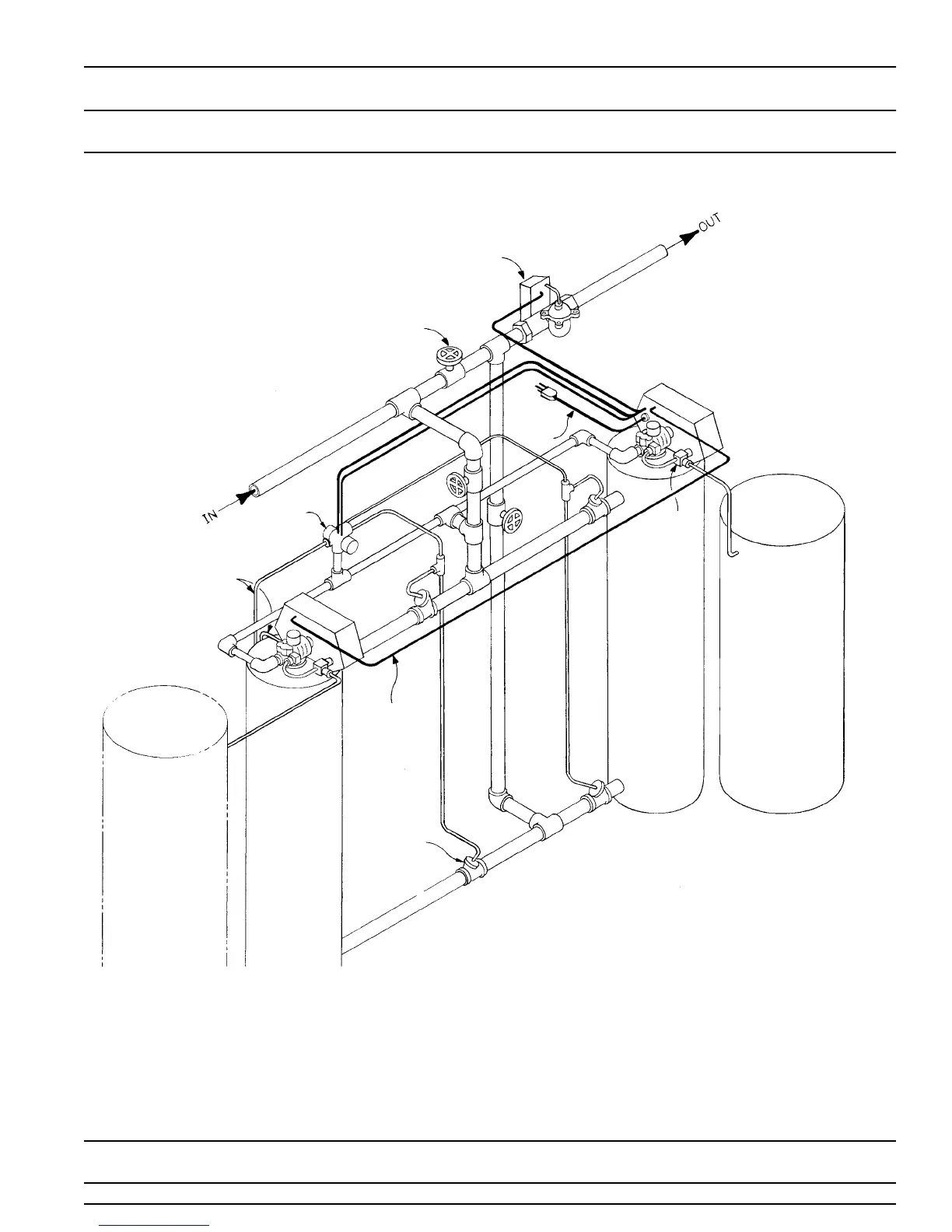
MODEL 2750
System #7 - Twin Alternator Installation
With a Remote Meter
METER
MANUAL
SHUTOFF
VALVES
4-WAY
SOLENOID
VALVE
BRINE
VALVE
RESIN
TANK
BRINE
TANK
ELECTRICAL
INTERLOCK
CORD
DIAPHRAGM
OPERATED
VALVE
DRAIN
(OPTIONAL)
BRINE
TANK
RESIN
TANK
3-WIRE
SERVICE
CORD
2 tanks, 1 meter; alternator system. One unit in service, the other is on
standby. When the meter zero out; the unit in service goes into a
regeneration cycle, the stand-by unit, goes into service.

Related product manuals