EasyManua.ls Logo

Fleetwood 2015 Excursion - Excursion

Fleetwood 2015 Excursion
111 pages
Print Icon
To Next Page IconTo Next Page
To Next Page IconTo Next Page
To Previous Page IconTo Previous Page
To Previous Page IconTo Previous Page
Loading...
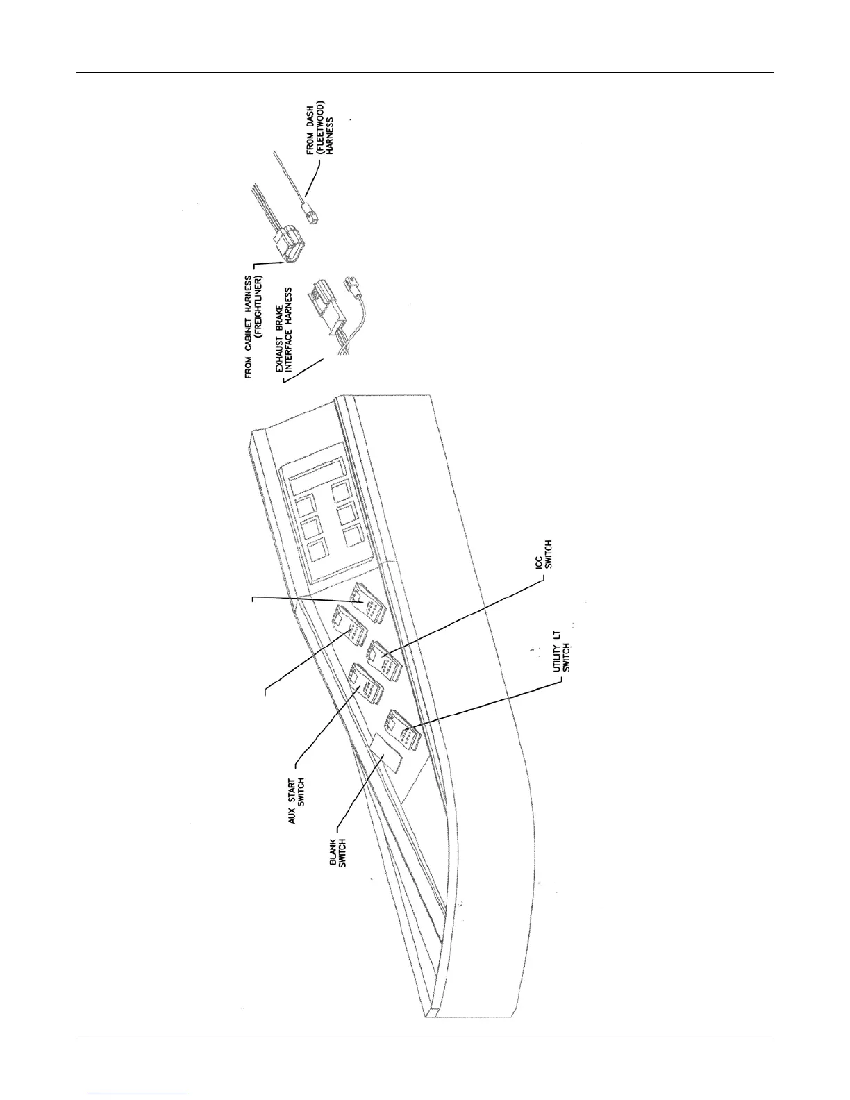
EXCURSION Information
04-8
Blank
Switch
Exhaust
Brake
Control

Table of Contents

Related product manuals