EasyManua.ls Logo

Fluke MicroScanner Pro - Page 140

Fluke MicroScanner Pro
154 pages
Print Icon
To Next Page IconTo Next Page
To Next Page IconTo Next Page
To Previous Page IconTo Previous Page
To Previous Page IconTo Previous Page
Loading...
MICROSCANNER PORTUGUÊS - 15
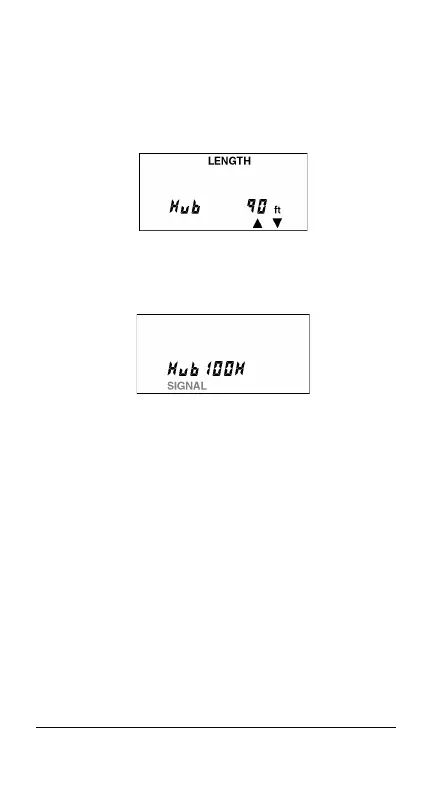
tecla MODE até que a palavra LENGTH seja
exibida na tela. O MICROSCANNER exibe
a palavra Hub seguida pelo comprimento até
o hub.
3. Quando o MICROSCANNER exibir Hub e o
comprimento do cabo, pressione a tecla
MODE para ativar a luz piscante de Hub.
A palavra SIGNAL (SINAL) pisca uma vez a cada
dois segundos logo acima da palavra Hub. Vá à
caixa de fiação para ver uma luz piscando uma
vez a cada dois segundos na porta à qual o cabo
está conectado.
O MICROSCANNER detecta o tipo de hub a que
está conectado: 10, 100, ou 10/100 serão
exibidos alternadamente logo após a palavra
Hub. O número é seguido pelas letras F e/ou H
como indicação dos recursos
full duplex
ou
half
duplex
do hub. As descrições são as seguintes:
10 H - 10BASE-T
10 HF - 10BASE-T full duplex
100 H - 100BASE-TX
100 HF - 100BASE-T full duplex
100 HF4 - 100BASE-T full duplex, 100BASE-T4

Table of Contents

Other manuals for Fluke MicroScanner Pro

Related product manuals