EasyManua.ls Logo

FPI P36D-NG - Parts List

FPI P36D-NG
72 pages
Print Icon
To Next Page IconTo Next Page
To Next Page IconTo Next Page
To Previous Page IconTo Previous Page
To Previous Page IconTo Previous Page
Loading...
FPI P36D Zero Clearance Direct Vent Gas Fireplace
64
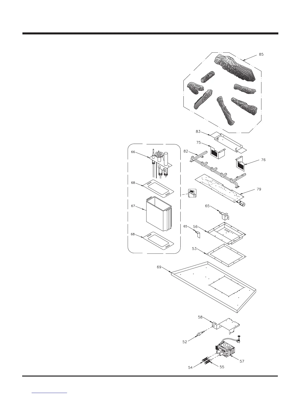
BURNER ASSEMBLY & LOG SET
Part # Description
52) 910-190 Piezo Ignitor & Nut
53) 780-021 Gasket - Valve Access Plate NG/LP
54) 910-421 Pilot ON/OFF 3" Extension Knob
55) 910-422 Flame HI/LOW 3" Extension Knob
780-524/P Valve Assy - Natural Gas
780-526/P Valve Assy - Propane
56) * Valve Tray - NG/LP
57) 910-378 Valve - S.I.T. - Natural Gas
910-380 Valve - S.I.T. - Propane
58) * Valve Bracket
65) * Pilot Bracket
66) 910-038 Pilot Assy - S.I.T. - 3 Flame NG
910-039 Pilot Assy - S.I.T. - 3 Flame LP
67) * Pilot Holder
68) W840470 Pilot Assembly Gasket
904-240 Orifice #37 - Natural Gas
904-390 Orifice #52 - Propane
936-170 Orifice Gasket
69) * Firebox Base
75) * Deflector - Left
76) * Deflector - Right
79) 790-525 Burner Assy - NG/LP
82) 511-030 Burner Grate Assy
83) 780-028 Rear Log Support Bracket
84) * Deflector
85) 780-930 Log Set
*Not available as a replacement part.
PARTS LIST

Table of Contents

Related product manuals