EasyManua.ls Logo

Franke FAK 607 - Page 6

Franke FAK 607
68 pages
Print Icon
To Next Page IconTo Next Page
To Next Page IconTo Next Page
To Previous Page IconTo Previous Page
To Previous Page IconTo Previous Page
Loading...
EN
6
6
11a
11
11
12a
22
190
190
7.3
190 190
835
362
X
1÷2
7.2.1
min. 250
max. 380
INSTALLATION
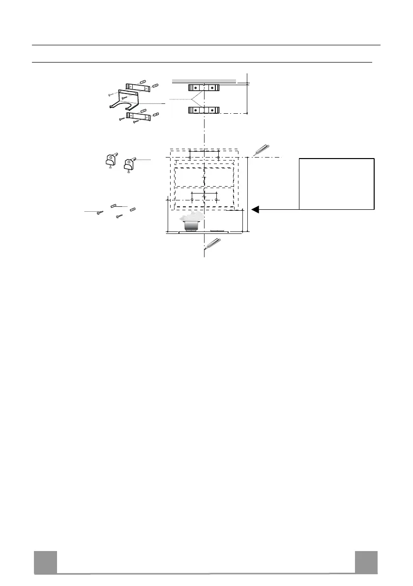
Wall drilling and bracket fixing
On the wall, draw
a Vertical line up to the ceiling or upper limit, at the centre of the area in which the Hood is
to be fitted;
a Horizontal line at a minimum of 835 mm above the Cooker Top.
Mark a point (1) on the horizontal line, 190 mm to the right of the vertical reference line.
Repeat this operation on the other side, checking that the two marks are level.
Mark a reference point (2) as indicated at 190 mm from the vertical reference line and 362
mm above the Cooker Top.
Repeat this operation on the other side, checking that the two marks are level.
Drill at the points (1) marked, using a ø 12 mm drill bit.
Drill at the points (2) marked, using a ø 8 mm drill bit.
Insert the bracket plugs 11a into the holes 1 and screw into place.
• Insert plug 11 into hole 2.
To install a decorative chimney ( optional )
• Place bracket 7.2.1 on the wall as shown about 1-2 mm from the ceiling or upper limit align-
ing the centre (notch) with the vertical reference line.
Mark the wall at the centres of the holes in the bracket.
Place bracket 7.2.1 on the wall as shown at X mm below the first bracket (X = height of the
upper chimney section supplied), aligning the centre (notch) with the vertical line.
Mark the wall at the centres of the holes in the bracket.
Drill ø 8 mm holes at all the centre points marked.
Insert the wall plugs 11 in the holes.
Fix the lower bracket 7.2.1 using the 12a screws (4,2 x 44,4) supplied.
Fix the upper bracket 7.2.1 and the air outlet connection support 7.3 together using the 2
screws 12a (4,2 x 44,4) supplied.
Drilling measures
refer to a minimum
safety distance at
250 mm

Related product manuals