EasyManua.ls Logo

freightliner Columbia - Power Mirrors

freightliner Columbia
193 pages
Print Icon
To Next Page IconTo Next Page
To Next Page IconTo Next Page
To Previous Page IconTo Previous Page
To Previous Page IconTo Previous Page
Loading...
seat to prevent damage to the seat and the cab inte-
rior.
All adjustment controls for a suspension seat are lo-
cated on the seat base. See Chapter 5 for complete
instructions.
Tilt Steering Wheel, Optional
The optional tilt steering wheel control pedal is lo-
cated to the left of the clutch pedal. See Fig. 2.26.
After adjusting the seat to the desired ride position,
unlock the steering column by pushing and holding
the control pedal all the way down. Tilt the steering
column to the desired position, then release the con-
trol pedal to lock the steering column in place.
WARNING
Make sure that the steering column is locked be-
fore driving the vehicle. Never tilt the column
while driving the vehicle. Doing so could cause
loss of vehicle control, personal injury, and prop-
erty damage.
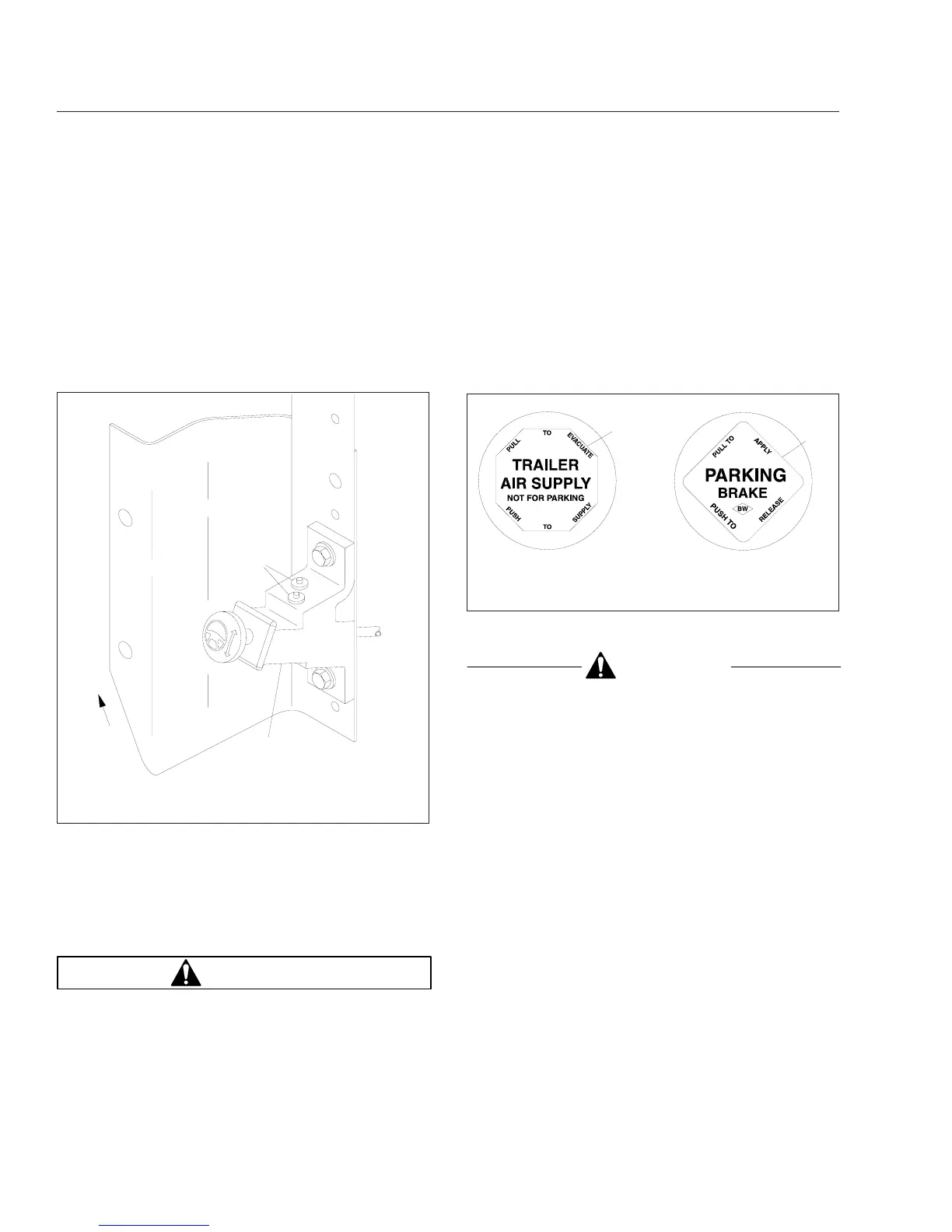
Parking Brake Control Valve and
Trailer Air Supply Valve
The yellow diamond-shaped knob operates the park-
ing brake valve. Pulling the knob applies both the
tractor and the trailer spring parking brakes. See
Fig. 2.27. Pushing the knob in releases the tractor
spring parking brakes. Before the spring parking
brakes can be released, the air pressure in either air
brake system must be at least 65 psi (447 kPa).
CAUTION
Do not step on the service brake pedal while the
parking brakes are applied. To do so can cause
damage to the brake mechanisms.
The red octagonal-shaped knob operates the trailer
air supply valve. See Fig. 2.27. After the vehicle and
its air hoses are connected to a trailer and the pres-
sure in the air system is at least 65 psi (447 kPa),
the trailer air supply valve knob must be pushed in
(and should stay in) to charge the trailer air supply
system and release the trailer spring parking brakes.
Before disconnecting a trailer or when operating a
vehicle without a trailer, the trailer air supply valve
knob must be pulled out.
See Chapter 6 under the heading "Brake System"
for instructions regarding use of the trailer air supply
valve and parking brake valve.
Power Mirrors
Both outside mirrors can be equipped with an electri-
cal remote control. Operate the driver door-mounted
switch to adjust the mirror.
11/14/95
f461069
A
1
2
A. Driver’s Door Opening
1. Adjustment Valve 2. Air Line Connections
Fig. 2.26, Tilt Steering Wheel Control Pedal
f610291
1
2
03/10/99
1. Trailer Air Supply Valve Knob
2. Parking Brake Control Valve Knob
Fig. 2.27, Brake Valve Knobs
Instruments and Controls Identification
2.25

Table of Contents

Other manuals for freightliner Columbia

Related product manuals