EasyManua.ls Logo

Fujioh FV-ML71 - Page 9

Fujioh FV-ML71
56 pages
Print Icon
To Next Page IconTo Next Page
To Next Page IconTo Next Page
To Previous Page IconTo Previous Page
To Previous Page IconTo Previous Page
Loading...
Diagram 3
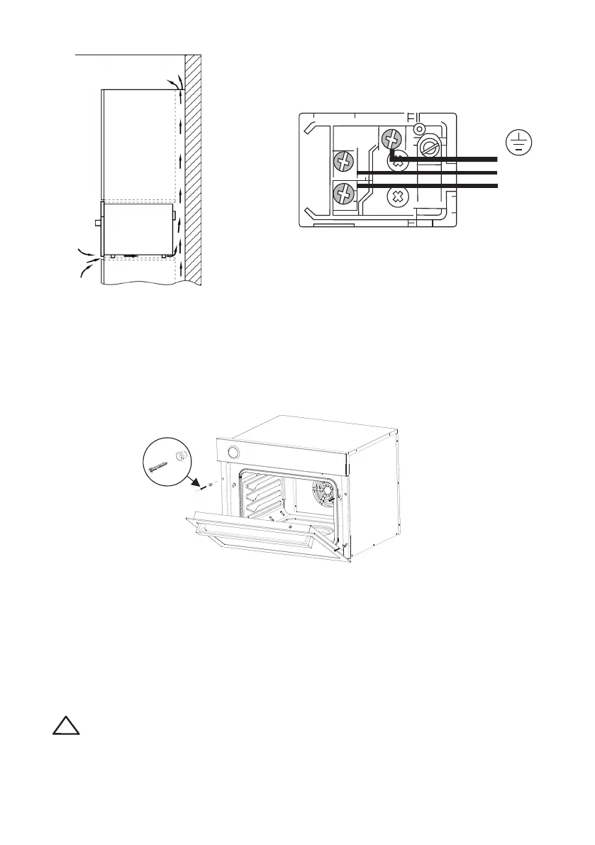
220-240V~
N
L
Diagram 2
-5-
Diagram 4
Fit the appliance to the cabinet by inserting the mounting screws into the
4 holes that can be seen on the oven frame when the door is open. Refer to
Diagram 4.
Ensure that the oven is fitted firmly in place as described above and properly
insulate the electrical connection to prevent the possibility of it coming into
contact with any metal parts. All live and insulated parts must be secured in
such a way that they can only be removed by using tools.
Do not switch on the appliance until it has been fully and correctly installed.
IMPORTANT!
The power socket must be connected to a switch with earth leakage
protection. If the power cable is damaged, immediately contact a qualified
electrician to have it replaced.
!

Related product manuals