EasyManua.ls Logo

Fujitsu PRIMERGY TX300 S7 - Page 27

Fujitsu PRIMERGY TX300 S7
36 pages
To Next Page IconTo Next Page
To Next Page IconTo Next Page
To Previous Page IconTo Previous Page
To Previous Page IconTo Previous Page
Loading...
System Configurator and Order-Information Guide
O
PRIMERGY TX300 S7 / RX350 S7 Status 2014-01-30
Section
IX
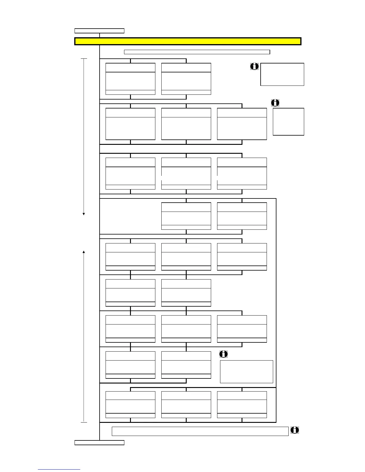
2.5" SAS / SATA Hard disk drives
Up to 24x 2.5" SAS/SATA hard disks can be configured.
S26361-F4541-E100 S26361-F4541-E400
**) High Endurance
SSD SAS 100GB, SLC SSD SAS 400GB, SLC 100GB: max 9PB***,
Solid State Disk, SAS 6Gb/s
Solid State Disk, SAS 6Gb/s
random write
Enterprise Perfomance Enterprise Perfomance
400GB: max 35PB***,
High Endurance **)
High Endurance **)
random write
hot plug/hot replace tray hot plug/hot replace tray
max. 24x per system max. 24x per system
S26361-F4581-E100 S26361-FF4581-E200 S26361-FF4581-E400 *) Mainstream
SSD SAS 100GB, MLC SSD SAS 200GB, MLC SSD SAS 400GB, MLC Endurance
Solid State Disk, SAS 6Gb/s
Solid State Disk, SAS 6Gb/s
Solid State Disk, SAS 6Gb/s
10DWPD over 5y
Enterprise Perfomance Enterprise Perfomance Enterprise Perfomance
Mainstream Endurance * Mainstream Endurance * Mainstream Endurance * Managed Life
hot plug/hot replace tray hot plug/hot replace tray hot plug/hot replace tray Model
max. 24x per system max. 24x per system max. 24x per system
S26361-F5225-E100 S26361-F5225-E200 S26361-F5225-E400
SSD SATA 100GB, MLC SSD SATA 200GB, MLC SSD SATA 400GB, MLC
Solid State Disk, SATA 6G Solid State Disk, SATA 6G Solid State Disk, SATA 6G
Mainstream Performance
Mainstream Performance Mainstream Performance
Mainstream Endurance * Mainstream Endurance * Mainstream Endurance *
hot plug/hot replace tray hot plug/hot replace tray hot plug/hot replace tray
max. 24x per system max. 24x per system max. 24x per system
S26361-F4482-E514 S26361-F4482-E530
HD 146GB 15krpm 2.5" HD 300GB 15krpm 2.5"
15000rpm,<4,5ms, 32MB Cache 15000rpm,<4,5ms, 32MB Cache
SAS 6Gb/s SAS 6Gb/s
8x Base Unit
hot plug/hot replace tray hot plug/hot replace tray
+ max. 24x per system max. 24x per system
8x Extension
+
8x Ext. Box
S26361-F3708-E250 S26361-F3708-E500 S26361-F3708-E100
HD 250GB 7.2krpm 2.5" HD 500GB 7.2krpm 2.5"
HD 1000GB 7.2krpm 2.5"
7200rpm,<9,5ms, 64MB Cache 7200rpm,<9,5ms, 64MB Cache 7200rpm,<9,5ms, 64MB Cache
BC SATA 6Gb/s BC SATA 6Gb/s BC SATA 6Gb/s
hot plug/hot replace tray hot plug/hot replace tray hot plug/hot replace tray
max. 24x per system max. 24x per system max. 24x per system
S26361-F5228-E500 S26361-F5228-E100
HD 500GB 7.2krpm 2.5"
HD 1000GB 7.2krpm 2.5"
7200rpm,<9,5ms, 64MB Cache 7200rpm,<9,5ms, 64MB Cache
BC SAS 6Gb/s BC SAS 6Gb/s
hot plug/hot replace tray hot plug/hot replace tray
max. 24x per system max. 24x per system
S26361-F5247-E130 S26361-F5247-E145 S26361-F5247-E160
HD 300GB 10krpm 2.5" HD 450GB 10krpm 2.5" HD 600GB 10krpm 2.5"
10000rpm,<4,5ms, 32MB Cache 10000rpm,<4,5ms, 32MB Cache 10000rpm,<4,5ms, 32MB Cache
SAS 6Gb/s SAS 6Gb/s SAS 6Gb/s
hot plug/hot replace tray hot plug/hot replace tray hot plug/hot replace tray
max. 24x per system max. 24x per system max. 24x per system
S26361-F4482-E190 S26361-F5247-E190
HD 900GB 10krpm 2.5" HD 900GB 10krpm 2.5"
10000rpm,<4,5ms, 32MB Cache
10000rpm,<4,5ms, 32MB Cache No mix of
SAS 6Gb/s SAS 6Gb/s
2.5" BC-SATA/BC-SAS HDD and
hot plug/hot replace tray hot plug/hot replace tray
2.5" 10K SAS HDD (S26361-
max. 24x per system max. 24x per system F4482-E130, S26361-F4482-
145, S26361-F4482-E160)
no longer available
S26361-F4482-E130 S26361-F4482-E145 S26361-F4482-E160
HD 300GB 10krpm 2.5" HD 450GB 10krpm 2.5" HD 600GB 10krpm 2.5"
10000rpm,<4,5ms, 16MB Cache
10000rpm,<4,5ms, 16MB Cache
10000rpm,<4,5ms, 16MB Cache
SAS 6Gb/s SAS 6Gb/s SAS 6Gb/s
hot plug/hot replace tray hot plug/hot replace tray hot plug/hot replace tray
max. 24x per system max. 24x per system max. 24x per system
***) 1GB is equal to one billion bytes when referring to SSD capacity. 1TB equals 1,000GB, and 1PB equals 1,000TB.
Accessible capacity will vary depending on the operating environment and formatting.
P
Fujitsu PRIMERGY Server 27 of 36

Other manuals for Fujitsu PRIMERGY TX300 S7

Related product manuals