EasyManua.ls Logo

FULTON Endura - Page 95

FULTON Endura
118 pages
Print Icon
To Next Page IconTo Next Page
To Next Page IconTo Next Page
To Previous Page IconTo Previous Page
To Previous Page IconTo Previous Page
Loading...
Questions? Please Contact Your Local Manufacturer’s Representative
SECTION 4 EDR-SOLA-IOM-2022-0216 MAINTENANCE
4-11
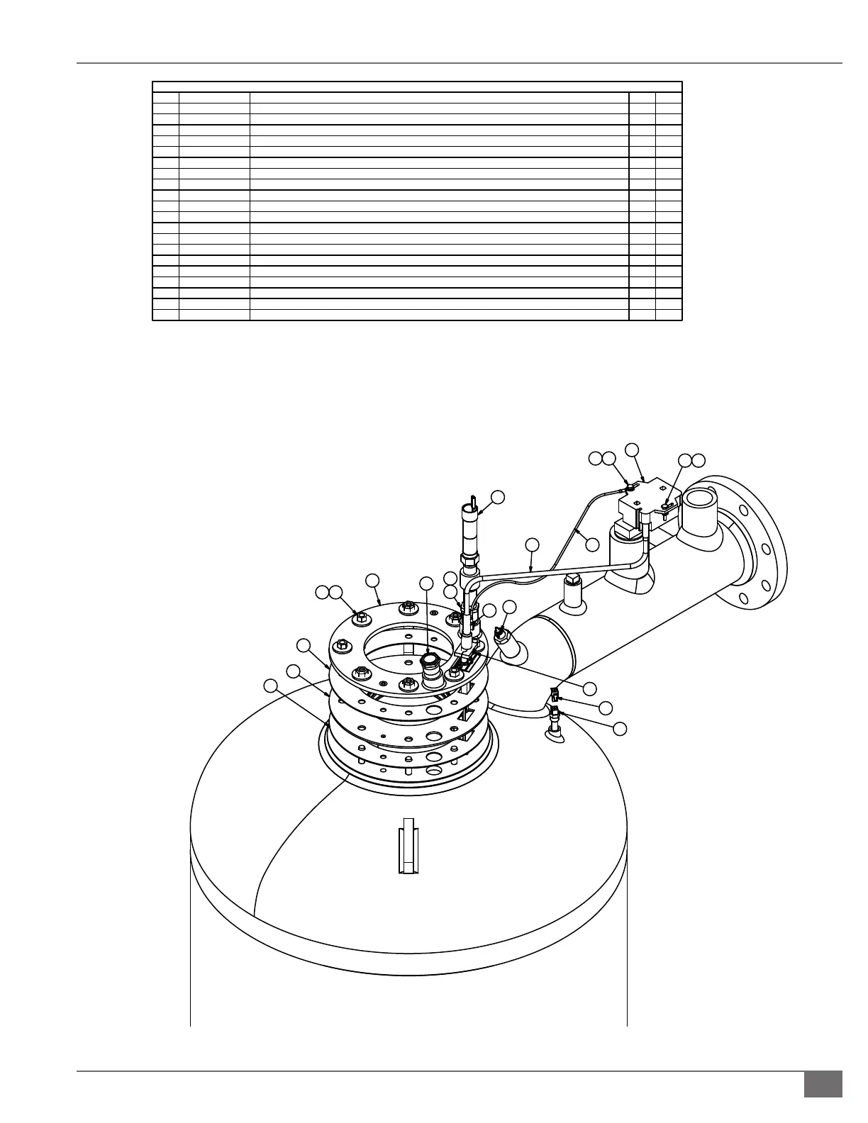
FIGURE 78  EDR1500/2000 BURNER REGION ASSEMBLY
BILL OF MATERIAL
U.O.M.
QTY
DESCRIPTION
PART NUMBERITEM
EA.
1
10 3/16" OD X 5 3/4" ID BURNER FLANGE WITH UV SCANNER, SIGHT GLASS AND IGNITION OPENING; 5/16" HRS PLATE SA-516 GR.70
2-10-071520
1
EA.
1
3/4" NPT SIGHT OBSERVATION PORT
2-12-0000122
EA.
2
ENDURA 1500K / 2000K BURNER GASKET, GRAFTECH GRAFOIL GTB
2-12-0012603
EA.
1
3" WATER LEVEL PROBE
2-20-000023
4
EA.
1
ENDURA IGNITER BRIDGE
2-20-000137
5
EA.
6
1/4" STAR WASHER
2-22-000048
6
EA.
8
3/8-16 NiCu400 HEX NUT (MONEL400)
2-22-000156
7
EA.
8
3/8" BELLEVILLE WASHER (INCONEL 718,.385" ID X 1.25" OD X .125" THK, .021" DISH)
2-22-0003538
EA.
6
10-32 FLANGE STOP NUT - NYLON INSERT - STAINLESS2-22-0003889
EA.
6
10-32 X 25mm BOLT, 18.8 STAINLESS2-22-000389
10
EA.
2
10-32 X 3/8" LONG S.S. TORX SCREW (96710A576)
2-22-000390
11
EA.
1
3/4" X 1/2" 150# BUSHING
2-35-00026012
EA.
1
3/4" ASTM A865 MERCHANT HALF COUPLING
2-35-00092913
EA.
1
HONEYWELL MINI PEEPER2-40-000161
14
EA.
1
THERMISTOR TEMP. SENSOR DUAL ELEMENT2-40-000332
15
EA.
1
TRANSFORMER 120V 50 / 60 Hz 15.6KVPK SECONDARY 28 MA
2-40-000976
16
EA.
1
ENDURA METAL MESH BURNER HEADVARIES
17
EA.
1
MOLEX CONNECTOR - 4 CIRCUITS - DUAL ROW MINI FIT2-45-00051418
F T.
1
16 AWG WIRE
2-45-00099919
EA.
1
18" LONG HIGH VOLTAGE IGNITION CABLE WITH 1/4" FEMALE CONNECTORS
5-11-00001820
1
7
8
3
17
3
2
5
18
15
14
16
10
6
10
9
20
19
4
20
12
13

Related product manuals