EasyManua.ls Logo

GE AMX-II

GE AMX-II
223 pages
To Next Page IconTo Next Page
To Next Page IconTo Next Page
To Previous Page IconTo Previous Page
To Previous Page IconTo Previous Page
Loading...
GENERAL
ELECTRIC
MEDICAL
SYSTEMS
AMX-I1
X-RAY
UNIT
6-978
42
500
Hz
Inverter
Driver
Output
Couplers
Schematic
reference
sheet
5,
Chapter
7.
Refer
to
Illustration
6-6.
SM
A
0654E
2CR3
TIME
DELAY
FOR
Q7
©
Per
广
q
R8
| |
I
|
LI
|
l
RIS
bs
| |
|
3TI
SEC.
=
a4
|
|
FF
sco)
ce
(RY!
Tu
-=
RS
CR2
R3
DI
DI
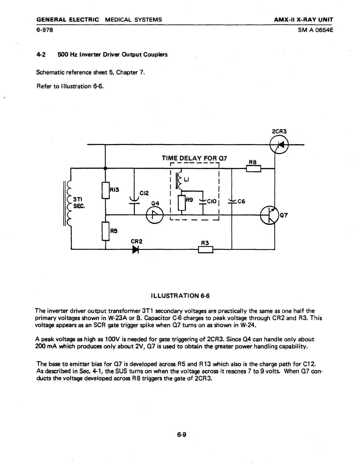
ILLUSTRATION
6-6
The
inverter
driver
output
transformer
3T1
secondary
voltages
are
practically
the
same
as
one
half
the
primary
voltages
shown
in
W-23A
or
B.
Capacitor
C-6
charges
to
peak
voltage
through
CR2
and
R3.
This
voltage
appears
as
an
SCR
gate
trigger
spike
when
07
turns
on
as
shown
in
W-24,
A
peak
voltage
as
high
as
100V
is
needed
for
gate
triggering
of
2CR3.
Since
04
can
handle
only
about
200
mA
which
produces
only
about
2V,
07
is
used
to
obtain
the
greater
power
handling
capability.
The
base
to
emitter
bias
for
Q7
is
developed
across
R5
and
R13
which
also
is
the
charge
path
for
C12.
As
described
in
Sec.
41,
the
SUS
turns
on
when
the
voltage
across
it
reacnes
7
to
9
volts.
When
Q7
con-
ducts
the
voltage
developed
across
R8
triggers
the
gate
of
2CR3.
6-9

Related product manuals