EasyManua.ls Logo

Gigabyte GA-E7AUM-DS2H - Page 22

Gigabyte GA-E7AUM-DS2H
104 pages
Print Icon
To Next Page IconTo Next Page
To Next Page IconTo Next Page
To Previous Page IconTo Previous Page
To Previous Page IconTo Previous Page
Loading...
GA-E7AUM-DS2H Motherboard - 22 -
Optical S/PDIF Out Connector
This connector provides digital audio out to an external audio system that supports digital optical
audio. Before using this feature, ensure that your audio system provides an optical digital audio in
connector.
IEEE 1394a Port
The IEEE 1394 port supports the IEEE 1394a specification, featuring high speed, high bandwidth
and hotplug capabilities. Use this port for an IEEE 1394a device.
eSATA 3Gb/s Port
The eSATA 3Gb/s port supported by the chipset conforms to SATA 3Gb/s standard and is compatible
with SATA 1.5Gb/s standard. Use the port to connect an external SATA device or a SATA port
multiplier.
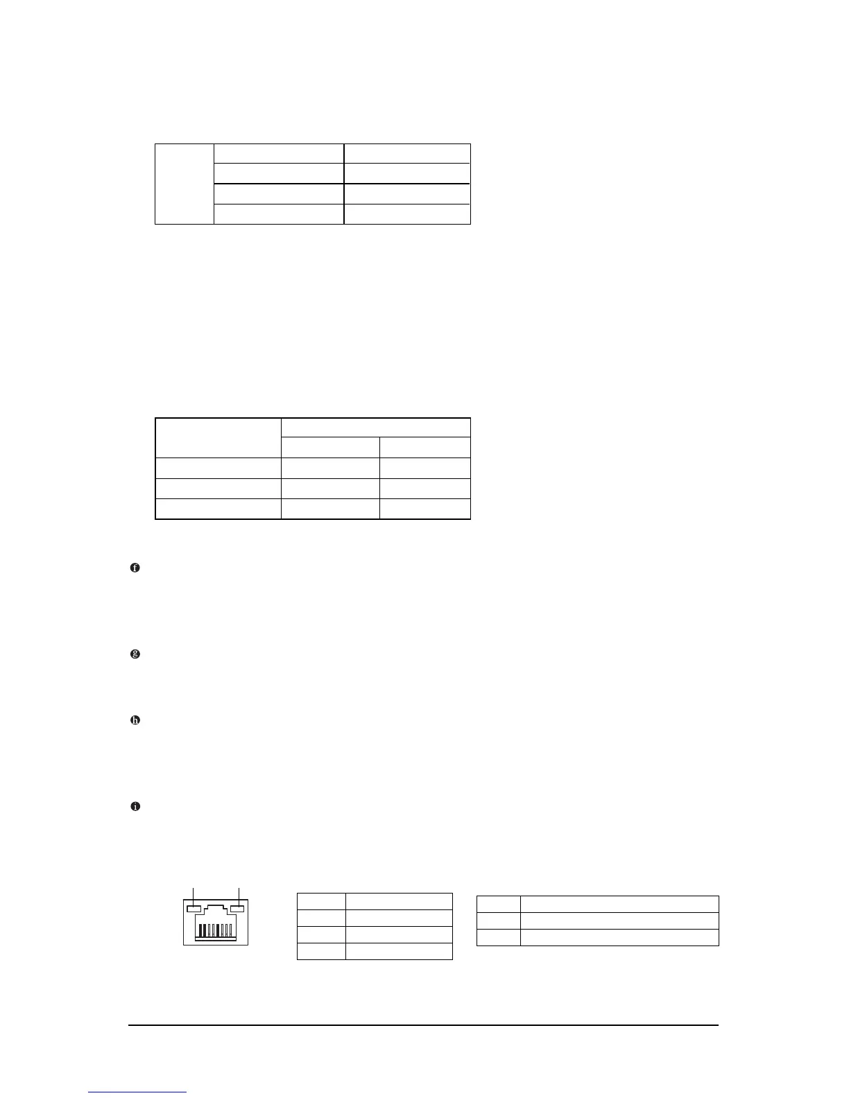
RJ-45 LAN Port
The Gigabit Ethernet LAN port provides Internet connection at up to 1 Gbps data rate. The following
describes the states of the LAN port LEDs.
Activity LED
Connection/
Speed LED
LAN Port
Activity LED:
State Description
Blinking Data transmission or receiving is occurring
Off No data transmission or receiving is occurring
Connection/Speed LED:
State Description
Orange 1 Gbps data rate
Green 100 Mbps data rate
Off 10 Mbps data rate
A. Dual Display Configurations:
This motherboard provides three ports for video output: DVI-D, HDMI and D-Sub. The table below
shows the supported dual display configurations.
Dual
Display
Combination Supported or Not
DVI-D + D-Sub Yes
DVI-D + HDMI No
HDMI + D-Sub Yes
B. Playback of HD DVD and Blu-ray Discs:
In order to get better playback quality, when playing the HD DVD or Blu-ray discs, refer to the
recommended system requirements (or better) below.
CPU: Intel
®
Celeron
®
Dual-Core processor - E1200 (1.6 GHz or faster)
Memory: 1 GB of DDR2 800 memory
BIOS Setup: At least 256 MB of Frame Buffer Size (refer to Chapter 2, "BIOS Setup,"
"Advanced BIOS Features," for more information)
Playback software: CyberLink PowerDVD 8.0
File Format Suitable Resolution
Windows XP Windows Vista
Non-protected contents
1920 x 1080p 1920 x 1080p
HD-DVD 1920 x 1080p 1920 x 1080p
Blu-ray
1920 x 1080p 1920 x 1080p

Table of Contents

Related product manuals