EasyManua.ls Logo

Globaljig SYSTEM - Assembly of System Components

Globaljig SYSTEM
28 pages
Print Icon
To Next Page IconTo Next Page
To Next Page IconTo Next Page
To Previous Page IconTo Previous Page
To Previous Page IconTo Previous Page
Loading...
USER’S MANUAL
SYSTEM/VECTOR
CHAPTER 5
5.4. ASSEMBLY
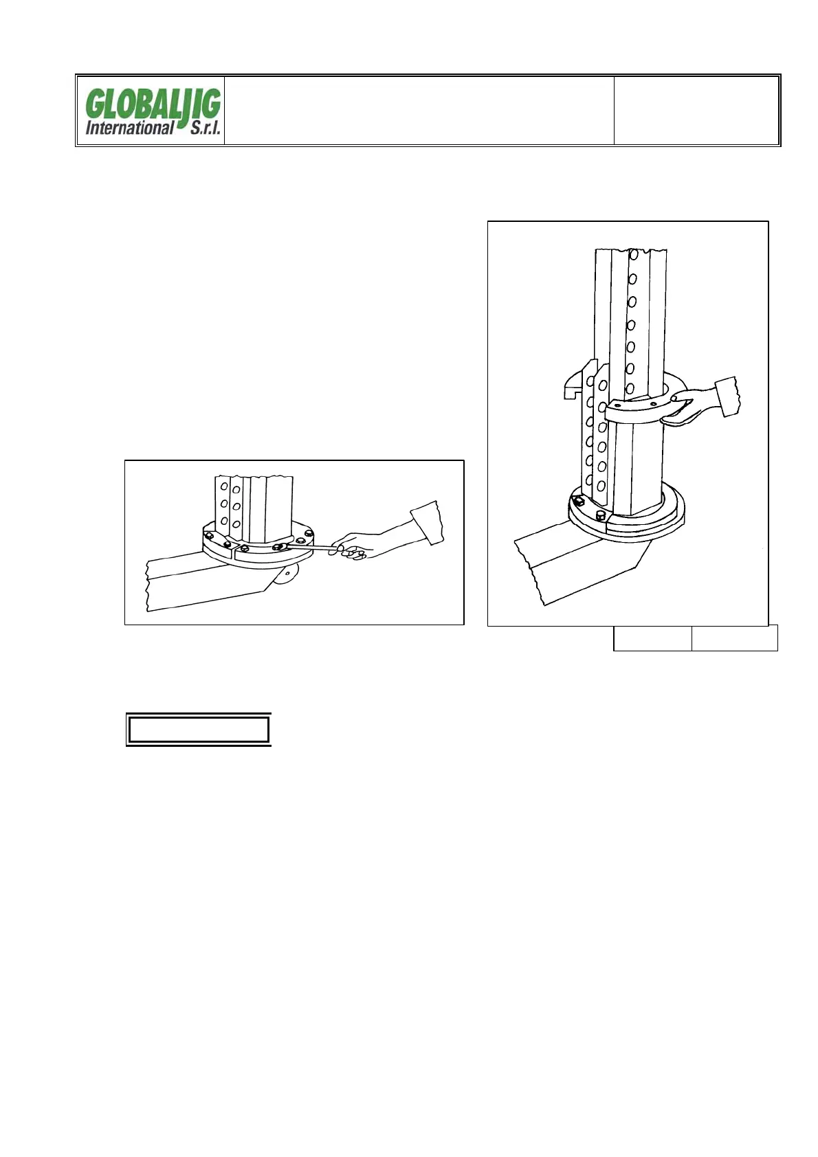
The horizontal body is delivered
preassembled. At this point the tool-
holder must be installed by simply
inserting it as indicated in fig. 05 - 02.
Then remove the large half ring from its
housing and install the vertical body on
the flange.
Then install the large half ring as shown
in fig. 05 - 03
and tighten all screws.
(fig. 05 - 04).
Edit. 01/95 Page 08
ATTENTION
Before starting up the Vector, to prevent risks for
yourself and the tool, make certain that all the
screws on the two half rings have been
thoroughly tightened.

Related product manuals