EasyManua.ls Logo

Graco 309707N - Parts

Graco 309707N
20 pages
Print Icon
To Next Page IconTo Next Page
To Next Page IconTo Next Page
To Previous Page IconTo Previous Page
To Previous Page IconTo Previous Page
Loading...
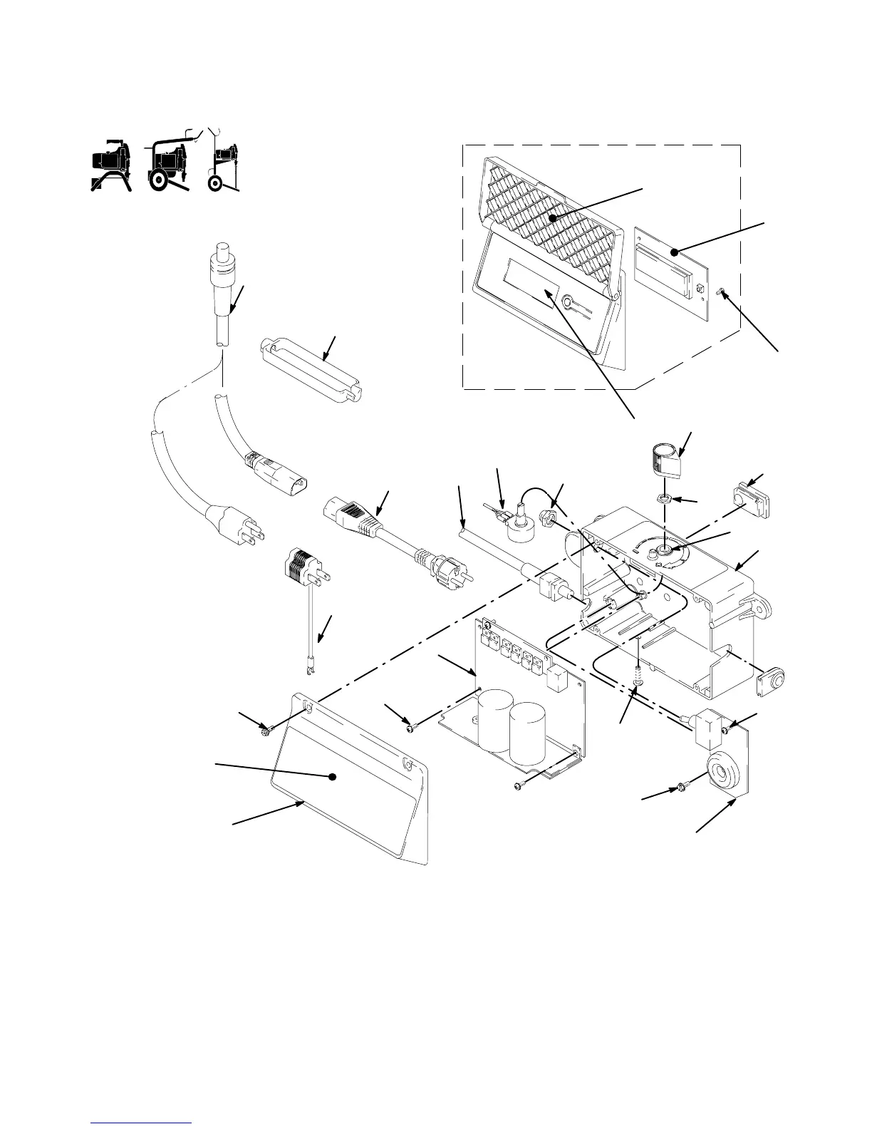
17309707
Parts Drawing - Sprayer
ti7381a
19
12
48
11
51
50
5
6
49
30
Ref 56
37a
37
58
127
129
128
90
91
56
106
105
113
92
121

Related product manuals