EasyManua.ls Logo

Graco Check-Mate L100CM - Parts; 60 Cc Displacement Pumps

Graco Check-Mate L100CM
44 pages
Print Icon
To Next Page IconTo Next Page
To Next Page IconTo Next Page
To Previous Page IconTo Previous Page
To Previous Page IconTo Previous Page
Loading...
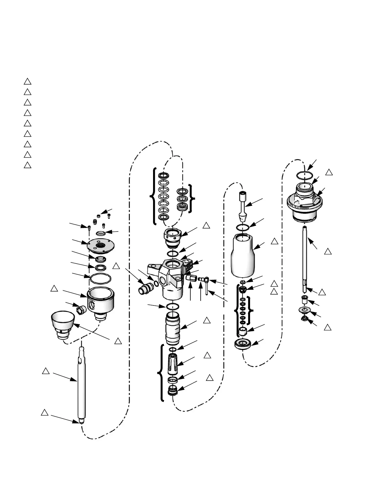
Parts
18 312375H
Parts
60cc Displacement Pumps
KEY:
Torque to 85-95 ft-lb (115-128 N•m)
Torque to 28-44 ft-lb (38-59 N•m)
Torque to 213-287 ft-lb (288-387 N•m)
Torque to 43-47 ft-lb (58-63 N•m)
Torque to 34-38 ft-lb (45-51 N•m)
Torque to 26-30 ft-lb (35-41 N•m)
Torque to 90-130 ft-lb (122-173 N•m)
Torque to 44-62 ft-lb (60-84 N•m)
Apply thread sealant
P: Throat Packings
S: Intake Valve Packings
T: Piston Check Valve Assembly (includes 23)
Lubricate all soft seal components before
installation.
1
2
3
4
5
6
7
8
9
21
22
24
23
18
38
33
32
20
4
2
39
40
18
17
29
44
28
31
30
13
14
10
61
16
11
12
9
1
P (5-8)
S (34-37)
42
41
P (5-7)
9
4
5
1
2
3
6
2
8
7
9
9
9
2
9
3
49,
52
43
T
25
26
27
19
15
TI12644B
R (32-37)
48,
49
47, 49
3
3