EasyManua.ls Logo

Graco Check-Mate L100CM - 500 Cc Displacement Pumps

Graco Check-Mate L100CM
44 pages
Print Icon
To Next Page IconTo Next Page
To Next Page IconTo Next Page
To Previous Page IconTo Previous Page
To Previous Page IconTo Previous Page
Loading...
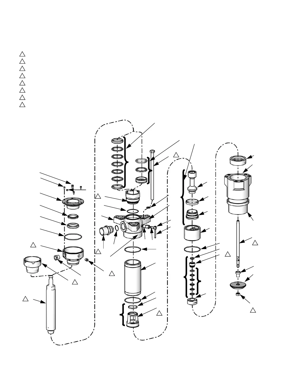
Parts
34 312375H
500cc Displacement Pumps
KEY:
Torque to 327-363 ft-lb (441-490 N•m)
Torque to 95-115 ft-lb (128-155 N•m)
Torque to 90-100 ft-lb (122-135 N•m)
Torque to 71-78 ft-lb (96-106 N•m)
Torque to 149-261 ft-lb (203-355 N•m)
Torque to 160-220 ft-lb (217-299 N•m)
Torque to 104-136 ft-lb (141-185 N•m)
Apply thread sealant
L: Piston Check Valve Assembly
M: Throat Packings
N: Intake Valve Packings
Lubricate all soft seal components before
installation.
1
2
3
4
6
7
8
9
4
3
1
2
TI10864B
22
24
23
18
38
33
32
20
4
2
39
40
18
17
18
28
31
30
13
14
10
15
16
11
12
9
1
P (5-8)
S
42
41
P (5-7)
9
(34-37)
3
2
26
27
4
19
3
6
7
47, 49
49, 52
51
45
46
43
44
8
29
25
T
T (cont.)
R
(32-37)
60
48,
49
9