EasyManua.ls Logo

Gree FB01 - 5 Guidance to Controller Operation

Gree FB01
47 pages
Print Icon
To Next Page IconTo Next Page
To Next Page IconTo Next Page
To Previous Page IconTo Previous Page
To Previous Page IconTo Previous Page
Loading...
D Series Modular Air-cooled Scroll Chillers
14
5 Guidance to Controller Operation
5.1 Overview on Wired Controller
In a 1~16 module network control system, only one Wired Controller is arranged for displaying the
control menu, receiving and displaying parameters from the mainboard controller, setting adjustable
parameters and transmitting set parameters to the mainboard controller.
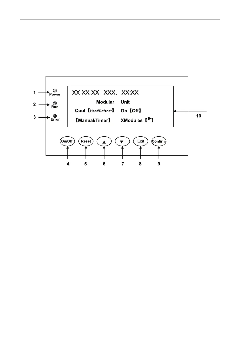
5.2 Control Panel of the Wired Controller
1. Power indicator(red): the indicator is on when the Wired Controller is powered on, or otherwise it
is off.
2. Run indicator(green): the indicator is on when the Wired Controller is started, or otherwise it is
off.
3. Error indicator(red): The indicator is on when the unit is at fault, or otherwise it is off.
4. On/Off button: For controlling unit conversion between start and stop, press the button (for 3
seconds) in stop state to start the unit and press the button (for 3 seconds) in operation state to
stop the unit.
5. Reset button: Press the button to clear fault and relieve the air discharge temperature sensor
locking.
6. Up selection button: in menu selection, press the button to move the cursor upward or leftward;
and in data modication mode, press the button to increase the value.
7. Down selection button: In menu selection, press the button to move the cursor downward or
rightward; and in data modication mode, press the button to decrease the value.
8. Exit button: Press the button to go back to the previous menu.
9. Confirm button: In menu selection, press the button to confirm the selected item; and in data
modication mode, press the button to conrm the parameter and move the cursor.
10. LCD: Information display zone.

Related product manuals