EasyManua.ls Logo

Gree GMV-ND06G/B4B-T - Connection of External Water Pump

Gree GMV-ND06G/B4B-T
20 pages
To Next Page IconTo Next Page
To Next Page IconTo Next Page
To Previous Page IconTo Previous Page
To Previous Page IconTo Previous Page
Loading...
Multi Variable Air Conditioners Wall Mounted Type Indoor Unit
10
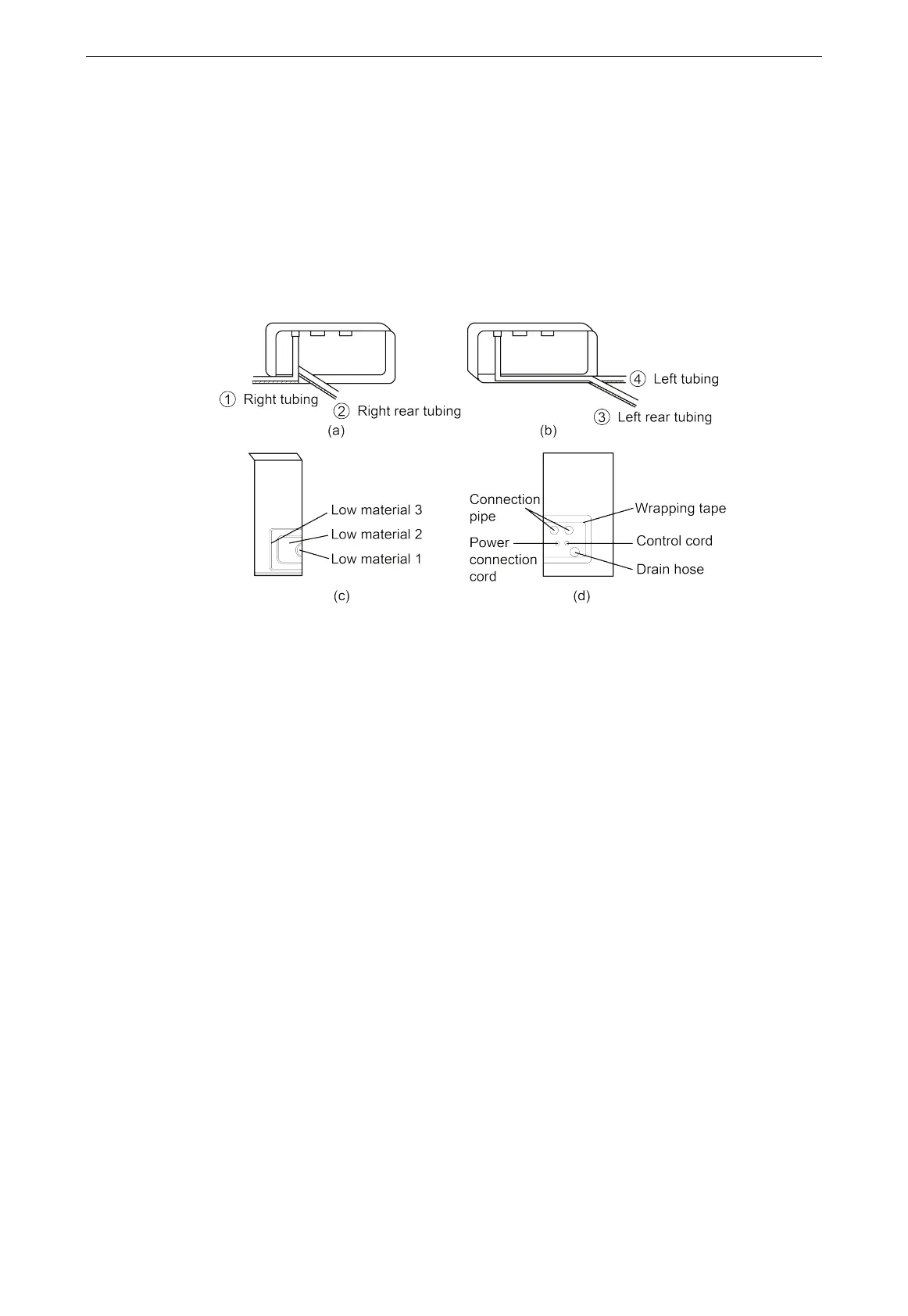
1) Cut down tailings 1 when only the power cord is led.
2) Cut down tailings 1, 2 (or 1, 2, 3) when the connection cord and wire are led.
3) The piping types
,
,
,
are recommended.
(2) Let the tubing and cord pass though the piping hole after tied up (refer to Fig. 5.6 (d)).
(3) Hang the claw behind the indoor unit on the pothook on the wall panel, and move the unit left
and right to check if the body is firm.
(4) Guarantee that the installation height of the indoor unit should be 2.5m(8-1/4feet) above the
floor.
Fig. 5.6
5.7 Connection of External Water Pump
The external water pump applicable model: GMV-ND06G/B4B-T(U),
GMV-ND07G/B4B-T(U), GMV-ND09G/B4B-T(U), GMV-ND12G/B4B-T(U),
GMV-ND14G/B4B-T(U), GMV-ND18G/B4B-T(U), GMV-ND24G/B4B-T(U).
The external water pump is purchased by the user, and the water pump is selected according to
the requirements. The installation must be carried out by a professional according to the local laws
and regulations and the pump manual.
Main board terminal CN8: Provide power for the external water pump; Power specification:
220-240V~50Hz, 208-230V~60Hz; Power of water pump 30W; when there may be condensed
water according to the operating status of the indoor unit, the power will be turned on, and when there
is no condensed water, the power will be turned off.
Main board terminal CN35: It’s used to detect the water overflow error signal. When the terminal
CN35 is continuously disconnected for a certain period of time, the error code L3 of water overflow
error will be displayed on the indoor unit and the unit stops operation; when the terminal CN35 is
continuously connected for a period of time, the water overflow error will be eliminated. When the
user doesn’t need to use this function, the terminal CN35 shall be connected according to the short
circuit connection at the time of ex-factory.
Connection of external water pump and indoor unit
(1) Remove the panel.
(2) Remove the electric box cover.

Related product manuals