EasyManua.ls Logo

Gree YAP1F - Page 39

Gree YAP1F
77 pages
Print Icon
To Next Page IconTo Next Page
To Next Page IconTo Next Page
To Previous Page IconTo Previous Page
To Previous Page IconTo Previous Page
Loading...
Manual de usuario del mando a distancia
11
cerrado
Con la unidad en estado "OFF", pulse los botones y para cambiar
de modo Simple Swing ["Oscilación simple"] a modo Fixed-angle Swing ["Oscilación
con ángulo jo"].
parpadeará en el mando a distancia durante 2 segundos durante
la conmutación.
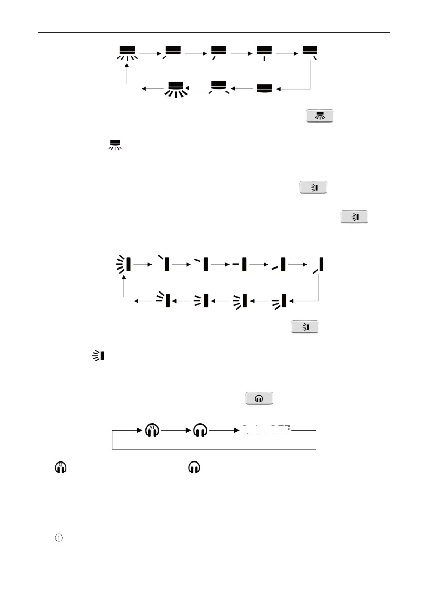
Ajuste de la oscilación vertical
1). En el estado de oscilación simple, pulse el botón para ajustar el
estado de oscilación vertical;
2). En el estado de oscilación con ángulo jo, pulse el botón para
ajustar el ángulo de oscilación vertical cíclicamente tal y como se indica a
continuación:
cerrado
Con la unidad en estado "OFF", pulse los botones y para cambiar de
modo Simple Swing ["Oscilación simple"] a modo Fixed-angle Swing ["Oscilación con
ángulo jo"].
parpadeará en el mando a distancia durante 2 segundos durante la
conmutación.
(5). Ajuste de la función Quiet ["Silencio"]
Con la unidad en estado "ON", pulse el botón para ajustar el estado Quiet
en la secuencia siguiente:
Quiet OFF
: función Auto Quiet activada; : función Quiet activada.
Cuando la función Quiet está ajustada, la velocidad del ventilador de la unidad
interior descenderá hasta la velocidad más baja con el n de reducir el ruido de la
unidad interior.
Notas:
La función Quiet no se encuentra disponible en los modos Dry, Fan y Floor
Heating;
Copyright 2018. This translation is property of GREE PRODUCTS SL. All rights reserved. Total or partial reproduction without its express authorization is prohibited.

Table of Contents

Related product manuals