EasyManua.ls Logo

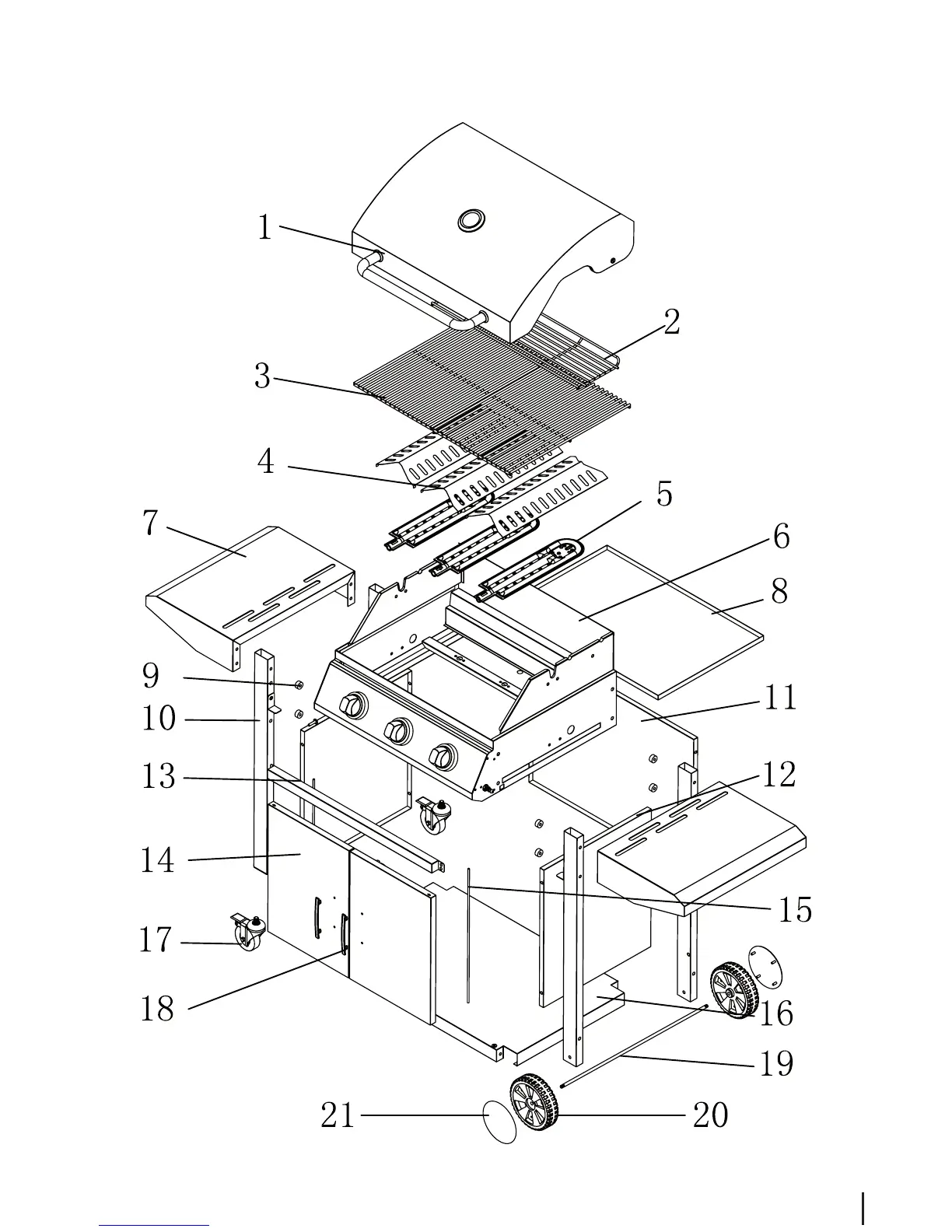
Grill Chef 12739A - Exploded View

Grill Chef 12739A
28 pages
Print Icon
To Next Page IconTo Next Page
To Next Page IconTo Next Page
To Previous Page IconTo Previous Page
To Previous Page IconTo Previous Page
Loading...
5
GRILLCHEF
Exploded View

Related product manuals