EasyManua.ls Logo

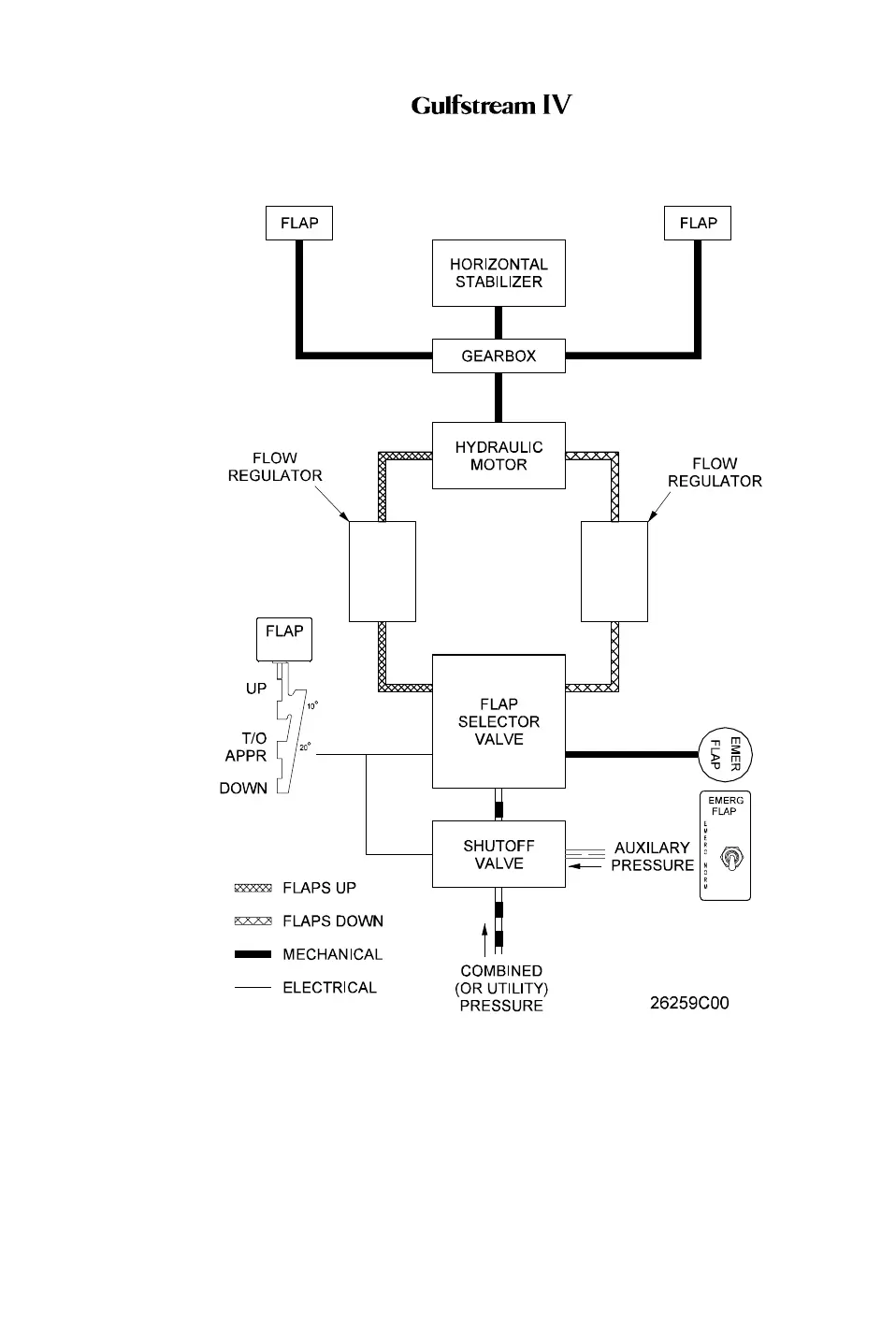
Gulfstream IV - Flaps; Horizontal Stabilizer System Hydraulic Control Diagram

Gulfstream IV
70 pages
Print Icon
To Next Page IconTo Next Page
To Next Page IconTo Next Page
To Previous Page IconTo Previous Page
To Previous Page IconTo Previous Page
Loading...
Flaps / Horizontal Stabilizer System Hydraulic Control Diagram
Figure 20
OPERATING MANUAL
PRODUCTION AIRCRAFT SYSTEMS 2A-27-00
Page 65
January 31/02
Revision 6

Table of Contents